Wichtiger Hinweis:
Diese Website wird in älteren Versionen von Netscape ohne graphische Elemente dargestellt. Die Funktionalität der Website ist aber trotzdem gewährleistet. Wenn Sie diese Website regelmässig benutzen, empfehlen wir Ihnen, auf Ihrem Computer einen aktuellen Browser zu installieren.
 
 
Bundesgericht 
Tribunal fédéral 
Tribunale federale 
Tribunal federal 
 
 
 
 
4A_61/2021  
 
 
Arrêt du 7 septembre 2021  
 
Ire Cour de droit civil  
 
Composition 
Mmes et MM. les Juges fédéraux 
Kiss, Juge présidant, Niquille, Rüedi, 
Bovey et May Canellas. 
Greffière : Monti. 
 
Participants à la procédure 
1. Société des Produits Nestlé S.A., 
2. Nestlé Nespresso SA, 
représentées par Me Amédée Kasser et Me Ralph Schlosser, avocats, 
recourantes, 
 
contre  
 
1. A.________, 
2. B.________, 
représentés par Me François Besse, avocat, 
intimés. 
 
Objet 
droit des marques; forme en trois dimensions, 
 
recours en matière civile contre l'arrêt rendu le 
8 décembre 2020 par la Cour civile du Tribunal cantonal du canton de Vaud (n° 27/2020; CM11.036478). 
 
 
Faits :  
 
A.  
 
A.a. Dans les années 1970, la Société des Produits Nestlé S.A. (ci-après: Nestlé SA) a cherché à offrir aux consommateurs du café expresso à l'italienne d'une qualité aussi bonne que dans un bar à café italien. Elle a conçu une capsule hermétique contenant une dose de café moulu ainsi qu'une machine à café "Nespresso" dans laquelle doit être insérée la capsule.  
Nestlé SA a obtenu un brevet sur la capsule en décembre 1976. Le brevet était illustré par deux figures, la seconde représentant la capsule lors de son utilisation: 
 
 
 
Le descriptif mentionnait notamment les éléments suivants: 
 
- La cartouche est constituée d'un corps en tôle d'aluminium ayant la forme générale d'un tronc de cône aigu, avec une bordure à la base. La conicité par rapport à l'axe est de 2 à 20°, de préférence 10° environ (soit 20° d'angle au sommet). On obtient ainsi une meilleure résistance à l'écrasement et on facilite la sortie de la cartouche de son logement après utilisation. 
- La conicité du logement correspondant à celle du corps, le serrage de l'organe maintient bien la cartouche et contribue à sa résistance à la pression interne. 
Le brevet a été radié le 16 décembre 1996, à l'issue de la durée maximale de protection. 
Un brevet européen a également été délivré pour cette capsule; il a été radié le 31 janvier 2005 après treize annuités. 
Une deuxième génération de machines et de capsules a été mise en place en 1992. La forme du compartiment à capsule a connu des évolutions au fil du temps, mais pas de bouleversements majeurs. 
Nestlé SA est devenu le plus important distributeur de café en portions individuelles en Suisse. Ses capsules sont vendues exclusivement dans les boutiques Nespresso et sur Internet. Elles connaissent un vif succès. Elles se présentent ainsi: 
 
 
 
 
A.b. Le 29 juin 2000, Nestlé SA a déposé auprès de l'Institut Fédéral de la Propriété Intellectuelle (IPI) une demande d'enregistrement de la forme suivante, concernant la classe 30 relative aux cafés, extraits de café et préparations à base de café:  
 
L'IPI a tout d'abord refusé l'enregistrement en arguant du fait que la forme ne différait pas de manière essentielle de la forme banale, qu'elle ne restait pas gravée dans la mémoire des consommateurs, appartenait dès lors au domaine public et devait rester à la libre disposition des concurrents. 
 
 
 
Suite aux observations déposées par Nestlé SA, l'IPI a finalement enregistré la forme sous le numéro 486 889 avec la mention "marque imposée". La protection a pris effet le 29 juin 2000; elle a été renouvelée depuis lors, la dernière fois le 22 mai 2020. 
Le 15 juillet 2001, la marque tridimensionnelle a été enregistrée auprès de l'Organisation Mondiale de la Propriété Intellectuelle (OMPI). Divers Etats ont refusé d'accorder la protection à cette marque, provisoirement ou définitivement. L'Allemagne a opposé un refus provisoire avant d'accepter l'inscription le 3 avril 2003. Nestlé SA a renoncé à la protection de la marque dans certains Etats, dont le Royaume-Uni. 
En avril 2002, Nestlé SA a essuyé un refus d'enregistrement émanant de l'Office de l'Union européenne pour la propriété intellectuelle (EUIPO), au motif que la forme n'avait pas acquis de caractère distinctif. 
 
A.c. Les sociétés Ethical Coffee Company SA et Ethical Coffee Company (Suisse) SA (ci-après: les sociétés Ethical Coffee) ont élaboré une capsule de café compatible avec le système Nespresso et biodégradable, à base de fibres végétales et d'amidon. Elles les ont commercialisées en France dans les magasins Casino dès mai 2010. En Suisse, des capsules ayant l'aspect suivant ont été vendues dès la fin septembre 2011 dans les magasins de la chaîne Media Markt:  
 
 
 
Le 30 septembre 2011, Nestlé SA et Nestlé Nespresso SA (ci-après: les sociétés Nestlé) ont saisi la Cour civile du Tribunal cantonal vaudois d'une requête de mesures provisionnelles visant à interdire aux sociétés Ethical Coffee de commercialiser leurs capsules. La seconde requérante détient les droits de propriété intellectuelle pour les capsules et machines à café Nespresso, à la faveur d'un contrat de licence. 
Les sociétés Ethical Coffee ont produit une étude de faisabilité des formes de capsules compatibles avec le système Nespresso, effectuée par une société qu'elles avaient mandatée (C.________ Sàrl). Le rapport du 8 novembre 2011 (complété le 12 décembre 2011) conclut que toute capsule se voulant compatible avec le système Nespresso doit répliquer la forme intérieure du compartiment de la machine (chambre conique avec fond conique), à l'instar de la capsule Nespresso, pour les raisons suivantes: 
 
- On dispose ainsi d'un volume utile de 9,8 cm³ au minimum, espace permettant de stocker quelque 5 g de café moulu; 
- La capsule est guidée correctement lors de la fermeture du compartiment de la machine, de sorte que l'étanchéité est garantie; 
- La capsule est suffisamment perforée par les aiguilles logées au fond du compartiment, ce qui assure le passage de l'eau dans la capsule et limite la perte de pression; 
- La forme de la capsule limite la quantité d'eau perdue en fin d'extraction, phénomène lié au volume mort (différence entre le volume de la capsule et le volume du compartiment à capsule); on pare ainsi au risque de débordement du bac de déversement (égouttoir). La requête des sociétés Nestlé a été admise par ordonnance provisionnelle du 11 novembre 2011. Cette décision a été annulée par la cour de céans au motif que le juge cantonal ne pouvait statuer sans disposer d'une expertise technique sommaire réalisée par un expert indépendant, dès lors qu'il était confronté à une question technique controversée et décisive (arrêt 4A_36/2012 du 26 juin 2012 consid. 2.4). 
E1.________, expert en propriété industrielle agréé auprès de la Cour d'appel de Paris et de la Cour de cassation française, a été désigné pour effectuer une telle expertise. Dans son rapport du 30 novembre 2013, il s'est prononcé sur cinq formes alternatives "fictives" suggérées par les sociétés Nestlé (cf. consid. 6.8 infra). A l'époque, la grande majorité des capsules concurrentes étaient pré-perforées (cf. consid. 6.7.3 infra). L'expert n'avait eu entre les mains que deux capsules concurrentes qui ne l'étaient pas. Il a confirmé divers points de l'étude de faisabilité précitée.  
Par ordonnance du 15 septembre 2014, le Juge délégué de la Cour civile vaudoise a finalement rejeté la requête de mesures provisionnelles, considérant qu'à l'aune de l'expertise sommaire, la forme de la capsule Nespresso était techniquement nécessaire. En conséquence, il a révoqué l'interdiction de commercialiser les capsules Ethical Coffee. 
 
A.d. Peu auparavant, soit le 10 juillet 2014, l'Office allemand des brevets et des marques (Deutsches Patent- und Markenamt) avait révoqué la protection de la marque de forme internationale sur le territoire allemand pour les produits de la classe 30. Il agissait sur requête d'Ethical Coffee Company SA (cf. au surplus consid. 6.4 infra).  
 
B.  
 
B.a. Alors que la procédure provisionnelle était encore en cours, les sociétés Nestlé ont déposé une demande principale devant la Cour civile vaudoise le 29 février 2012. Cette autorité était requise de signifier aux sociétés Ethical Coffee l'interdiction de vendre, distribuer, promouvoir, exporter, entreposer ou utiliser dans le commerce, de quelque autre manière que ce soit, les capsules de café représentées ci-dessus (let. A.c), sous la menace de la peine d'amende prévue à l'art. 292 CP. Les demanderesses fondaient leurs prétentions sur le droit des marques et le droit de la concurrence déloyale.  
Les sociétés Ethical Coffee ont conclu au rejet de la demande et, reconventionnellement, au constat de la nullité de la marque suisse n° 486 889 (let. A.b supra) pour tous les produits protégés en classe 30. Cette marque devait être radiée par l'IPI dans les dix jours à compter du jugement définitif et exécutoire.  
 
B.b. Une expertise sur la notoriété de la marque a été confiée à E2.________. Un sondage a été effectué entre août et septembre 2015 auprès de 1112 personnes domiciliées en Suisse alémanique (68%), romande (23%) et italienne (9%).  
Les photos d'une capsule Nespresso photographiée sous deux angles différents (ne montrant pas le couvercle en aluminium revêtu de la marque Nespresso) ont été soumises aux sondés. 
48% ont identifié une capsule de café sans donner de marque, 
23% ont identifié une capsule,  
19% ont spontanément parlé de Nespresso ou de capsules Nespresso, 
1% ont mentionné Nestlé. 
Interpellés sur la possibilité d'attribuer ou non cette capsule à un fabricant ou à une marque précise, 58% des sondés ont répondu par l'affirmative, tandis que 35% étaient d'un avis contraire; 7% n'avaient pas d'avis. 
Invités à donner le nom du fabricant ou de la marque, 49% des sondés ont répondu Nespresso, 6% Nestlé, 1% Expresso; 40% n'ont pas été interrogés. 
A la question de savoir quel élément avait permis aux sondés de reconnaître la marque ou le fabricant, 
29% ont désigné la forme/la forme typique/le design, 
2% le fond/le couvercle, 
1% le bord/les arrondis, 
1% les rainures, 
2% Nespresso, 
21% George Clooney/la télévision/la publicité, 
6% ont répondu "c'est connu, tout simplement", 
1% ont dit l'avoir vue dans une boutique, 
9% ont répondu ne pas savoir, 
16% n'ont pas été interrogés. 
 
B.c. Une expertise technique a été mise en oeuvre. L'expert E3.________ a déposé trois rapports les 2 août 2016, 11 août 2017 et 8 décembre 2017.  
Le prénommé a notamment dû se prononcer sur certaines affirmations techniques faites dans l'expertise E1.________ et dans l'étude de faisabilité commandée par les sociétés Ethical Coffee. 
Il a par ailleurs testé 20 capsules concurrentes (à l'exclusion de celle d'Ethical Coffee) dans cinq machines Nespresso différentes. Les sociétés Nestlé admettaient que ces capsules concurrentes n'entraient pas dans le champ de protection de leur marque. 
L'expert s'est aussi prononcé sur les cinq formes fictives suggérées par les sociétés Nestlé et sur les deux prototypes élaborés en lien avec ces propositions (cf. au surplus consid. 6.7.4 et 6.8 infra).  
 
B.d. Les deux sociétés Ethical Coffee ont été déclarées en faillite le 12 novembre 2018. La cause a été suspendue en application de l'art. 207 al. 1 LP (RS 281.1).  
Le 3 septembre 2019, A.________ et B.________ ont obtenu la cession des droits de la masse en faillite d'Ethical Coffee Company SA. 
Le 20 mars 2020, le Juge délégué de la Cour civile vaudoise a pris acte du désistement d'Ethical Coffee Company Suisse (SA) et l'a déclarée hors de cause. Il a ordonné la reprise de la cause divisant désormais les deux demanderesses d'avec A.________ et B.________. 
 
B.e. Par jugement du 8 décembre 2020, la Cour civile a rejeté la demande principale et partiellement admis la demande reconventionnelle. Elle a constaté la nullité de la marque suisse n° 486 889 pour tous les produits protégés en classe 30 et a ordonné à l'IPI de radier cette marque dans les dix jours après que son jugement serait devenu définitif et exécutoire.  
La cour vaudoise a en substance tenu le raisonnement suivant: 
 
- Les demanderesses avaient un intérêt digne de protection à agir contre la masse en faillite d'Ethical Coffee Company SA, tout comme cette dernière avait un intérêt à faire constater la nullité de la marque. 
- Sur le fond, il fallait au premier chef s'interroger sur la validité de la marque enregistrée. Le motif absolu d'exclusion visé par l'art. 2 let. b de la Loi fédérale sur la protection des marques [LPM; RS 232.11]) n'était pas réalisé. En revanche, la marque enregistrée était nulle sous l'angle de l'art. 2 let. a LPM. Les demanderesses n'avaient pas apporté la preuve que la forme présumée appartenir au domaine public s'était imposée comme marque dans le commerce. Au contraire, elle ne s'était pas imposée. 
Les demanderesses fondaient aussi leurs prétentions sur la Loi fédérale contre la concurrence déloyale (LCD; RS 241). Aucune violation ne pouvait être retenue, que ce fût sous l'angle de l'art. 3 al. 1 let. d LCD ou de l'art. 3 al. 1 let. e LCD. 
 
C.  
Les sociétés Nestlé ont interjeté un recours en matière civile auprès du Tribunal fédéral. Elles ont conclu à l'admission de leur demande du 29 février 2012 (sous réserve d'adaptations inhérentes à la faillite des deux défenderesses initiales), respectivement au rejet de la demande reconventionnelle. 
A.________ et B.________, cessionnaires de la masse en faillite d'Ethical Coffee Company SA (ci-après: les intimés), ont déposé une réponse sollicitant le rejet du recours. 
Un deuxième échange d'écritures a eu lieu sans que le Tribunal fédéral l'eût ordonné. Au nom de leur "droit de réplique inconditionnel", les recourantes ont encore déposé une brève triplique à laquelle les intimés n'ont pas réagi. 
L'autorité précédente s'en est remise à justice tout en renvoyant à son arrêt. Elle a produit le dossier de la cause. 
 
 
Considérant en droit :  
 
1.  
Déposé en temps utile (art. 100 al. 1 LTF en lien avec l'art. 46 al. 1 let. c LTF) contre une décision finale (art. 90 LTF) rendue par une juridiction statuant en instance cantonale unique (art. 74 al. 2 let. b LTF, art. 75 al. 2 let. a LTF en lien avec l'art. 5 al. 1 let. a et let. d CPC), le présent mémoire satisfait sur le principe aux conditions de recevabilité du recours en matière civile. 
 
2.  
 
2.1. Le Tribunal fédéral statue sur la base des faits établis par l'autorité précédente (art. 105 al. 1 LTF). Il peut cependant rectifier ou compléter les constatations retenues dans l'arrêt attaqué lorsqu'elles ont été établies en violation du droit (au sens de l'art. 95 LTF) ou de façon manifestement inexacte, c'est-à-dire arbitraire, ce qu'il incombe en principe au recourant de dénoncer (art. 97 al. 1 et art. 105 al. 2 LTF; ATF 133 IV 286 consid. 6.2).  
 
2.2. Le Tribunal fédéral applique le droit d'office (art. 106 al. 1 LTF), de sorte qu'il n'est limité ni par les arguments soulevés dans le recours, ni par la motivation retenue par l'autorité précédente. Il peut ainsi rejeter un recours pour d'autres motifs que ceux retenus dans l'arrêt attaqué (ATF 135 III 397 consid. 1.4 p. 400). Eu égard, toutefois, à l'exigence de motivation qu'impose l'art. 42 al. 2 LTF, sous peine d'irrecevabilité (art. 108 al. 1 let. b LTF), il n'examine d'ordinaire que les griefs invoqués, sauf en cas d'erreurs juridiques manifestes (ATF 142 III 402 consid. 2.6 p. 413; 140 III 115 consid. 2 p. 116).  
 
3.  
La faillite des sociétés Ethical Coffee a remis en question l'intérêt des demanderesses à faire interdire la vente des capsules Ethical Coffee, respectivement l'intérêt de la masse en faillite d'Ethical Coffee Company SA à faire constater la nullité de la marque des demanderesses. L'autorité précédente a considéré que les deux camps avaient un intérêt digne de protection à faire juger les prétentions émises (art. 59 al. 2 let. a CPC). Si les demanderesses succombaient dans leurs conclusions, le savoir-faire acquis pour la confection et la commercialisation des capsules Ethical Coffee pourrait profiter à des tiers après la liquidation de la masse en faillite. Aussi les demanderesses conservaient-elles un intérêt à faire interdire la vente desdites capsules, tandis que la substance de la masse en faillite d'Ethical Coffee Company SA serait affectée par une telle interdiction; elle le serait aussi, par corollaire, si la nullité de la marque de forme devait être constatée. 
On ne saurait revenir d'office sur une analyse qui n'est pas discutée par les parties et ne paraît pas entachée d'une erreur manifeste. La doctrine souligne certes que le goodwill, le savoir-faire, la clientèle ne sont pas des droits mais des éléments factuels, de sorte qu'ils sont incessibles, et partant insaisissables (DIETER ZOBL, Berner Kommentar, 2e éd. 1996, n° 180 ad art. 899 CC). Elle admet cependant que dans la faillite, le goodwill peut représenter une valeur patrimoniale dans la mesure où il peut être transféré avec l'entreprise faillie à un acquéreur (HANDSCHIN/HUNKELER, in Basler Kommentar, 2e éd. 2010, n° 48 ad art. 197 LP). En l'occurrence, les faillies ont élaboré, produit et commercialisé des capsules de café biodégradables. A priori, l'équipement de production et le savoir-faire y afférents devraient pouvoir être repris par un tiers, comme l'a jugé l'autorité précédente. L'intérêt à commercialiser une capsule biodégradable est par ailleurs indiscutable.  
On relèvera au passage que la Haute Cour fédérale allemande a été saisie d'une contestation sur la protection de la marque de forme des sociétés Nestlé en territoire allemand. Or, elle a considéré que ce litige avait une incidence pour la masse en faillite d'Ethical Coffee Company SA, dont la position de concurrent pouvait se trouver renforcée; aussi a-t-elle suspendu la procédure de recours (Bundesgerichtshof, décision du 31 janvier 2019, n. 20 ss, dans la cause I ZB 114/17, accessible sur le site Internet www.bundesgerichtshof.de; cf. au surplus consid. 6.4 infra).  
 
4.  
Les sociétés Nestlé sont parvenues à faire enregistrer auprès de l'IPI la capsule Nespresso comme marque de forme s'étant imposée dans le commerce, pour la classe de produits 30 (cafés et autres) (art. 2 let. a LPM, cf. infra consid. 5.1). Elles ont intenté une action en interdiction et en cessation de trouble contre les sociétés Ethical Coffee, au motif que celles-ci violaient leur droit à la marque et la LCD en commercialisant des capsules très similaires aux leurs (art. 55 al. 1 LPM; art. 9 al. 1 LCD). A titre reconventionnel, les défenderesses (dont une a été mise hors de cause et l'autre est désormais représentée par les cessionnaires de la masse en faillite) ont conclu à la nullité de la marque enregistrée.  
L'instance cantonale unique a retenu cette dernière thèse, à tort selon les sociétés Nestlé qui ont interjeté un recours. 
A ce stade, il s'impose de présenter les dispositions légales topiques et l'analyse qui sous-tend l'arrêt attaqué. 
 
5.  
 
5.1. Selon l'art. 1 LPM, "la marque est un signe propre à distinguer les produits ou les services d'une entreprise de ceux d'autres entreprises" (al. 1). Les formes en trois dimensions peuvent constituer des marques (al. 2).  
Une marque peut être enregistrée pour une durée de dix ans à compter de la date de dépôt. L'enregistrement peut être prolongé sur demande par périodes de dix ans, moyennant paiement des taxes (art. 10 LPM). 
Certains signes sont exclus de la protection du droit des marques ("motifs absolus d'exclusion", art. 2 LPM), en particulier: 
 
"a. les signes appartenant au domaine public, sauf s'ils se sont imposés comme marques pour les produits ou les services concernés; 
b. les formes qui constituent la nature même du produit et les formes du produit ou de l'emballage qui sont techniquement nécessaires; ( technisch notwendig/imposte dalla tecnica)  
(...) ". 
 
5.2. La cour cantonale a examiné si l'un ou l'autre desdits motifs d'exclusion était réalisé.  
 
5.2.1. Elle s'est tout d'abord demandé si la forme de la capsule Nespresso était "techniquement nécessaire".  
- Elle a jugé que cette question devait s'apprécier par rapport aux seules capsules compatibles avec les machines à café Nespresso. La situation se démarquait de l'affaire des briques de jeu Lego, dans laquelle le Tribunal fédéral avait jugé que les solutions alternatives à disposition des concurrents ne devaient pas nécessairement être compatibles avec la brique Lego. Dans ce précédent, le système préexistant était précisément la forme protégée, tandis que dans ce cas-ci, le système préexistant n'était pas la capsule concurrente, mais la machine nécessaire à l'utilisation de la capsule.  
- La cour cantonale a ensuite souligné qu'une forme n'était pas techniquement nécessaire du seul fait que les alternatives étaient moins efficaces; encore fallait-il que leur usage ne puisse raisonnablement être exigé des concurrents. En l'occurrence, on pouvait attendre de ceux-ci qu'ils adoptent des formes alternatives. L'expert E3.________ avait certes relevé divers paramètres liés au bon positionnement de la capsule dans la machine Nespresso, mais il avait précisé qu'une capsule compatible avec cette machine ne devait pas nécessairement reproduire la forme géométrique d'une capsule Nespresso. L'expert avait testé diverses capsules dont plusieurs présentaient des formes divergentes sans être moins commodes à l'usage. Certes, une capsule dont le volume était inférieur à celui de la capsule Nespresso augmentait le "volume mort" dans le compartiment et provoquait un remplissage plus rapide de l'égouttoir; cet élément ne suffisait néanmoins pas à convaincre de la nécessité technique de la forme litigieuse. L'usage d'une telle capsule paraissait raisonnable dès lors qu'elle présentait d'autres avantages pour le consommateur, tels qu'un bilan écologique plus avantageux. L'expert E1.________ avait lui aussi reconnu l'existence de capsules à la forme non tronconique de commodité et de résistance équivalentes à la capsule Nespresso. 
En bref, le motif d'exclusion de l'art. 2 let. b LPM n'était pas réalisé. 
 
5.2.2. La cour cantonale a ensuite recherché si la protection devait être déniée à l'aune de l'art. 2 let. a LPM.  
Selon son analyse, l'inscription au registre entraînait la présomption que la forme appartenait au domaine public et s'était imposée comme marque. Dans un procès civil, le titulaire devait prouver l'imposition dans le commerce si le défendeur objectait que la marque n'était pas susceptible de protection. 
En l'occurrence, une telle preuve n'avait pas été apportée. Au contraire, les sondages effectués par l'expert E2.________ révélaient que la marque ne s'était pas imposée. La forme de la capsule devait être l'élément distinctif décisif. Or, 33% des sondés seulement avaient déclaré avoir identifié la marque ou le fabricant d'après la forme de la capsule. Un tel pourcentage ne permettait pas de retenir l'imposition sur le marché. En définitive, la marque enregistrée était nulle. 
 
6.  
 
6.1. Les parties dénoncent, qui une violation de l'art. 2 let. a LPM, qui une violation de l'art. 2 let. b LPM: les recourantes soutiennent que la marque revêtirait un caractère distinctif originaire et se serait imposée dans le public; les intimés objectent que la forme de la capsule serait techniquement nécessaire. L'examen de cet argument-ci est prioritaire; il est en effet absolument exclu d'enregistrer une forme techniquement nécessaire, y compris dans l'hypothèse où elle serait parvenue à s'imposer comme marque dans le commerce (ATF 131 III 121 consid. 2 p. 124; 129 III 514 consid. 2.3 p. 518; arrêt précité 4A_36/2012 consid. 2.3).  
Avant de se prononcer sur la "nécessité technique" de la capsule Nespresso (consid. 6.6 ss), il faut préciser les contours de cette notion, en effectuant un tour d'horizon en Suisse (consid. 6.2), à l'échelon européen (consid. 6.3) ainsi qu'en Allemagne (consid. 6.4). 
 
6.2.  
 
6.2.1. A l'origine, le projet du Conseil fédéral prévoyait d'exclure de la protection du droit des marques les formes constituant la nature même du produit et les formes "imposées par la technique" (FF 1991 I 58) (" imposte dalla tecnica " [FF 1991 I 60]; " technisch bedingt " [BBl 1991 I 62], i.e. littéralement "conditionnées par la technique").  
La notion de nécessité technique existait déjà dans la jurisprudence relative au droit de la concurrence déloyale. Selon celle-ci, une imitation même servile de la présentation d'un produit ( Ausstattung) est admissible lorsque la présentation est rendue nécessaire par la technique ( technisch notwendig). L'acte est en revanche déloyal si le choix d'une autre forme est possible sans modifier la construction technique et si l'on peut raisonnablement exiger du concurrent qu'il l'adopte, parce que cette solution n'est pas moins pratique, ni moins solide, ni plus coûteuse que la solution copiée (ATF 116 II 365 consid. 3b p. 369; 93 II 272 consid. 6 p. 281). Les expressions " technisch notwendig " et " technisch bedingt " s'entendaient le plus souvent comme des synonymes (cf. ATF 88 IV 79 consid. 2 p. 82), sous réserve d'arrêts isolés (cf. ATF 129 III 514 consid. 3.2.1, qui cite les ATF 92 II 202 consid. 5a p. 205 et 113 II 77 consid. 3c p. 81).  
A l'initiative du Parlement, les expressions " technisch bedingt " et "imposées par la technique" ont été remplacées respectivement par " technisch notwendig " et "techniquement nécessaires". Seule la version italienne est restée telle quelle (" imposte dalla tecnica "). Ce changement a été motivé notamment par la nécessité de clarifier une jurisprudence peu claire et de s'aligner sur le droit européen (cf. ATF 129 III 514 consid. 3.2.2).  
Le Tribunal fédéral a précisé qu'une forme est techniquement nécessaire au sens de l'art. 2 let. b LPM lorsque le concurrent ne dispose techniquement d'aucune forme alternative pour un produit du même genre, ou lorsque celle-ci ne peut raisonnablement être exigée de lui dans l'intérêt d'une concurrence fonctionnelle. Cette dernière hypothèse est vérifiée lorsque la solution alternative serait moins pratique (moins commode), moins solide (moins résistante) ou assortie de coûts de production plus élevés (plus onéreuse) (" eine weniger praktische, eine weniger solide oder eine mit grösseren Herstellungskosten verbundene Ausführung ") : on ne peut en effet attendre des concurrents qu'ils renoncent à la solution la plus évidente et adéquate (ATF 129 III 514 consid. 2.4.2 et 3.2.4; ATF 131 III 121 consid. 3.1 p. 124). A titre d'exemples, la cour de céans a évoqué la forme d'un tournevis en croix ou celle d'une clé à quatre crans destinée à s'insérer dans une tête de vis.  
Dans l'affaire de la brique Lego, la cause a été renvoyée à l'instance cantonale pour qu'elle examine si l'on pouvait raisonnablement exiger des concurrents qu'ils utilisent des formes alternatives (en soi possibles) pour empiler des briques de jeu. L'autorité de céans a ensuite été amenée à préciser que ces formes alternatives ne devaient pas nécessairement être compatibles avec les briques Lego (arrêt 4C.86/2004 du 7 juillet 2004 consid. 2.1.2 et consid. 3). Après une minutieuse instruction, il s'est avéré qu'une solution alternative ne pouvait pas être imposée aux concurrents. Le juge doit en effet appliquer un standard strict lorsqu'il tranche cette question. Le monopole illimité dont jouit le titulaire de la marque de forme n'est admissible que s'il n'en découle aucun désavantage pour les concurrents parce qu'il existe des formes alternatives équivalentes. On ne saurait attendre d'eux qu'ils assument des coûts de production supplémentaires, même si la différence est faible. Dans l'optique de l'égalité de traitement au sein d'une concurrence fonctionnelle, les concurrents doivent pouvoir partir sur une base équivalente (arrêt 4A_20/2012 du 3 juillet 2012 consid. 3.2). 
 
6.2.2. Le Tribunal fédéral a été confronté une première fois à la question de savoir si les formes alternatives à la capsule Nespresso devaient être compatibles avec les machines à café Nespresso. Le Tribunal de commerce saint-gallois avait répondu par l'affirmative, et cette analyse développée dans une procédure provisionnelle a été jugée exempte d'arbitraire (cf. art. 98 LTF). La cour de céans a concédé que jusqu'ici, elle s'était refusée à limiter le champ des solutions alternatives aux seules formes compatibles avec un système préexistant (arrêt 4A_178/2011 du 28 juin 2011 consid. 2.2, non publié à l'ATF 137 III 324). En revanche, le tribunal saint-gallois ne pouvait trancher lui-même cette question technique; aussi la cause lui a-t-elle été retournée pour qu'il mette en oeuvre une brève expertise (ATF 137 III 324 consid. 3.2.2) - ce qui fut fait.  
Statuant à nouveau, toujours à l'aune de la vraisemblance, le Tribunal saint-gallois a jugé que la partie inférieure de la capsule Nespresso ne pouvait être protégée par le droit des marques. La collerette était techniquement nécessaire et la forme en tronc de cône, qui était celle d'un trapèze en trois dimensions, était géométriquement banale. Nombre de capsules - notamment celles destinées au système Delizio [différent du système Nespresso, réd.] - revêtaient d'ailleurs la forme du tronc de cône avec une collerette. Il fallait ainsi examiner si le chapeau de la capsule concurrente (Denner) se distinguait suffisamment de celui de la capsule Nespresso pour ne pas créer un risque de confusion. Or, les traits distinctifs paraissaient suffisants (cf. arrêt du 21 mai 2013, publié in sic! 2013 p. 759 ss; cf. aussi le résumé proposé par DIRK SPACEK, Produktkompatibilität - Systemschutz durch Immaterialgüterrechte?, in Recht und Wandel, Festschrift für Rolf Weber, 2016, p. 200 s.). 
Les sociétés Nestlé n'ont pas recouru contre cette décision. Denner a décidé de développer une nouvelle capsule (arrêt attaqué, p. 48 i.f. et 49).  
 
6.2.3. Le présent litige a été précédé d'une procédure provisionnelle. Les sociétés Ethical Coffee ont recouru au Tribunal fédéral contre l'ordonnance du 11 novembre 2011 leur interdisant de commercialiser leurs capsules (let. A.c supra). Elles ont plaidé que la forme de la capsule Nespresso était dictée par la machine Nespresso dans laquelle elle devait être utilisée, ce qui a inspiré à la cour de céans les réflexions suivantes (arrêt précité 4A_36/2012 consid. 2.3) :  
 
- Cette objection devait être examinée avec d'autant plus d'attention que Nestlé SA avait tout d'abord considéré la capsule Nespresso comme une invention. Or, la protection des brevets était limitée à vingt ans. L'inventeur ne pouvait éluder la volonté du législateur en faisant ensuite inscrire son objet comme une marque de forme en trois dimensions, avec cette conséquence que la protection d'une marque pouvait se renouveler indéfiniment de dix ans en dix ans (art. 10 LPM). 
- S'il n'était pas possible de fabriquer une capsule de forme différente pour la même utilisation (absence de forme alternative), ou si une autre forme devait présenter des inconvénients empêchant une concurrence efficace, il faudrait en déduire que la protection de la capsule Nespresso comme marque était exclue par l'art. 2 let. b LPM
- Il ne fallait pas seulement rechercher s'il était possible de produire une capsule différente qui soit utilisable de la même manière (donc dans les mêmes machines) et avec la même efficacité. Il convenait aussi de se demander si la ou les autres formes se distingueraient suffisamment, dans l'esprit du public acheteur, de la capsule Nespresso pour éviter d'entrer dans sa sphère de protection (cf. art. 3 LPM). 
 
6.2.4. La doctrine suisse a pointé le risque qu'un producteur soustraie tout un système de produits à la concurrence en faisant protéger comme marque la forme d'un produit conçu pour s'intégrer dans un autre produit du système (cf. EUGEN MARBACH, Markenrecht, in SIWR vol. III/1, 2e éd. 2009, p. 162 n. 526, à propos de la jurisprudence Lego). Cette problématique concerne des domaines aussi variés que les lames de rasoir à fixer sur un manche, les agrafes destinées à une agrafeuse, les cartouches d'encre pour imprimante, les charnières pour fenêtre, les chargeurs pour téléphone portable, ou encore les capsules à insérer dans une machine à café (SPACEK, op. cit., p. 184; SASKIA ESCHMANN, Kompatibilität und der markenrechtliche Schutzausschlussgrund der technischen Notwendigkeit, in PJA 2011 p. 1639).  
D'aucuns soutiennent que la notion de nécessité technique ne devrait pas s'interpréter à l'aune du droit de la concurrence; la thématique de la compatibilité devrait être traitée sous l'angle de l'abus de droit et du droit des cartels (MARK SCHWEIZER, Formmarkenschutz und Kompatibilitätsinteresse, in sic! 2019 p. 591-593). D'ailleurs, lorsque la forme du produit est simplement conditionnée par la technique et que des alternatives sont possibles, le producteur doit démontrer que cette forme est reconnue par les consommateurs comme une marque distinctive, ce qui constitue déjà une protection contre les risques de monopolisation (ADRIAN WYSS, Die Verkehrsdurchsetzung im schweizerischen Markenrecht, 2013, p. 153-154). 
Cependant, un courant apparemment majoritaire admet que la compatibilité d'un produit peut fonder une nécessité technique au sens de l'art. 2 let. b LPM (cf. la synthèse présentée par ESCHMANN, op. cit., p. 1646 s. et par SCHWEIZER, op. cit., p. 591 et sous-note 43); selon les circonstances, l'examen des formes alternatives devrait ainsi se limiter aux formes compatibles avec un certain système. L'art. 2 let. b LPM veut éviter de conférer via le droit des marques un monopole illimité pour des solutions techniques qui ne sont pas (ou plus) protégées par les droits de propriété intellectuelle (ESCHMANN, op. cit., p. 1647). Le même but sous-tend la jurisprudence développée en droit de la concurrence déloyale sur la présentation du produit ( Ausstattung). La pesée d'intérêts pratiquée en ce domaine devrait donc aussi être effectuée dans l'application de l'art. 2 let. b LPM. Outre l'intérêt des concurrents, il faut surtout tenir compte des consommateurs. Leur intérêt devrait l'emporter notamment lorsque le producteur original ne peut pas assurer des livraisons rapides ou lorsqu'il pratique un mauvais rapport qualité-prix, y compris lorsqu'il retire son gain moins de la vente du produit principal (par exemple une machine) que du produit accessoire dont le prix apparaît élevé (ESCHMANN, op. cit., p. 1648). Cette pesée d'intérêts devrait intervenir lors de l'examen des formes alternatives exigibles (ESCHMANN, op. cit., p. 1649, approuvée par SPACEK, op. cit., p. 200, et par IVO ZUBERBÜHLER, Immaterialgüterrecht in kommentierten Leitentscheiden, 2015, p. 140 s. n. 17.21).  
D'autres leviers peuvent conduire à limiter la question de la nécessité technique aux seuls produits compatibles (SPACEK, op. cit., p. 204-206) : la manière plus ou moins large dont on définit la notion de "nécessité technique" au sens de l'art. 2 let. b LPM; le faible pouvoir distinctif reconnu à la forme influencée par la technique, qui permettra aux concurrents de se démarquer suffisamment en apportant des modifications mineures (cf., dans cet ordre d'idées, l'arrêt rendu par le tribunal saint-gallois, cité supra consid. 6.2.2); ou encore, le recours à l'abus de droit (art. 2 al. 2 CC).  
 
6.3.  
 
6.3.1. Le droit européen connaît une réglementation semblable à l'art. 2 let. b LPM. La Directive rapprochant les législations des Etats membres sur les marques énonce en effet ce qui suit (art. 4 ch. 1 let. e/ii de la Directive 2015/2436 du 16 décembre 2015, Journal officiel de l'Union européenne du 23 décembre 2015, L 336/7) :  
 
"Sont refusés à l'enregistrement ou sont susceptibles d'être déclarés nuls s'ils sont enregistrés (...) les signes constitués exclusivement (...) par la forme ou une autre caractéristique du produit qui est nécessaire à l'obtention d'un résultat technique". 
Le Règlement sur la marque de l'Union européenne contient une disposition quasi identique (art. 7 ch. 1 let. e/ii du Règlement 2017/1001 du 14 juin 2017, Journal officiel du 16 juin 2017, L 154/8). 
 
6.3.2. Selon la Cour de justice de l'Union européenne (anciennement Cour de justice des Communautés européennes), le droit des marques est un élément essentiel du système de concurrence. Chaque entreprise doit pouvoir faire protéger les signes permettant au consommateur de distinguer sans confusion possible ses produits ou services (arrêt Lego Juris A/S du 14 septembre 2010, C-48/09 P, n. 38). Cela étant, il faut éviter qu'un fabricant utilise le droit des marques pour obtenir ou perpétuer des droits exclusifs portant sur des solutions techniques, alors que celles-ci ne peuvent être protégées que pour une durée limitée dans le système de propriété intellectuelle de l'Union européenne (arrêt Lego, n. 43 et 46; arrêt Koninklijke Philips Electronics NV du 18 juin 2002, C-299/99, n. 78-82).  
Si les caractéristiques essentielles de la forme d'un produit répondent toutes à la fonction technique, l'enregistrement de la marque doit être refusé, indépendamment du point de savoir si d'autres formes permettraient d'obtenir le même résultat technique (arrêt Lego, n. 53 et 83; arrêt Philips, n. 81-84). Pour juger de la fonctionnalité technique d'une forme, on peut notamment tenir compte de la documentation relative aux brevets antérieurs qui décrivent les éléments fonctionnels de la forme concernée (arrêt Lego, n. 85). 
En application de ces principes, la Cour de justice est arrivée à la conclusion que la solution incorporée dans la brique Lego était techniquement préférable pour la catégorie de produits concernée (arrêt Lego, n. 60). Aussi ladite brique ne pouvait-elle être enregistrée comme marque. 
L'arrêt enseigne de façon intéressante que la brique Lego avait les mêmes dimensions et projections circulaires qu'une brique de jeu conçue par un inventeur anglais, laquelle avait été protégée par plusieurs brevets délivrés entre 1940 et 1961 (arrêt Lego, n. 18/42). 
 
6.4. La loi allemande sur la protection des marques contient une disposition jumelle de la Directive européenne dans sa version allemande (cf. Amtsblatt der Europäischen Union vom 23. Dezember 2015, L 336/7, art. 4 ch. 1 let. e/ii). Son § 3 al. 2 ch. 2 exclut de la protection des marques les signes constitués exclusivement de formes ou d'autres traits caractéristiques qui sont nécessaires pour obtenir un effet technique (Gesetz über den Schutz von Marken und sonstigen Kennzeichen [MarkenG]: "Dem Markenschutz nicht zugänglich sind Zeichen, die ausschließlich aus Formen oder anderen charakteristischen Merkmalen bestehen, [...] die zur Erreichung einer technischen Wirkung erforderlich sind").  
L'Allemagne avait reconnu à la capsule Nespresso la protection de la marque tridimensionnelle enregistrée auprès de l'OMPI. L'Office allemand des brevets et des marques avait ensuite retiré cette protection le 10 juillet 2014, à la requête d'Ethical Coffee Company SA (let. A.b et A.d supra). Cette décision a été confirmée par le Tribunal fédéral des brevets à Munich le 17 novembre 2017, comme le révèle le site Internet de cette autorité (Bundespatentgericht, arrêt 25 W [pat] 112/14, accessible à l'adresse www.bundespatentgericht.de).  
A l'aune des principes développés par la jurisprudence européenne, le Tribunal des brevets a jugé que la caspule Nespresso se heurtait au motif de refus absolu énoncé ci-dessus. Elle disposait de deux traits caractéristiques, soit d'une part la forme d'un double cône (deux cônes empilés l'un sur l'autre), d'autre part une collerette semblable à un bord de chapeau, entourant le bas du cône le plus large. Or, au regard du brevet allemand de 1976, tous ces éléments distinctifs avaient une fonction technique. La forme de double cône offrait une meilleure résistance à l'écrasement, en particulier au système de perforation inventé, tout en facilitant l'éjection de la capsule. La collerette en forme de bord de chapeau assurait la stabilité et la fermeté de la capsule et la maintenait en place, permettant de fixer le filtre par lequel l'eau devait ressortir. Le Tribunal des brevets n'a pas procédé à une expertise technique, considérant que la fonctionnalité technique de la capsule découlait des brevets. 
Cette décision a été déférée à la Haute Cour fédérale, laquelle a suspendu la cause en raison de la faillite d'Ethical Coffee Company SA (cf. consid. 3 supra).  
 
6.5. Le tour d'horizon qui précède montre que le Tribunal fédéral a pris l'option d'interpréter plutôt strictement la notion de "nécessité technique" et de rechercher si les concurrents disposent de solutions alternatives - contrairement à la pratique européenne. Cette rigueur est tempérée par le fait que les formes alternatives doivent pouvoir être "raisonnablement" exigées des concurrents, circonstance qui ne doit être retenue qu'avec réserve, si les intéressés n'en retirent pas de désavantage (cf. arrêt précité 4A_20/2012 consid. 3.2).  
La cour de céans a souligné les préoccupations d'égalité de traitement visant à assurer une concurrence fonctionnelle lorsqu'on examine la possibilité de formes alternatives. Il faut admettre que la thématique de la compatibilité des produits s'inscrit dans le même champ. Le droit des marques contribue au bon fonctionnement de la concurrence, de sorte qu'il se justifie de prendre en compte des considérations de concurrence pour élucider la question de la nécessité technique. Cette solution permet en outre de porter une appréciation au cas par cas, en fonction des circonstances concrètes. 
Les cas dans lesquels existent des solutions alternatives présentant des avantages équivalents, tout en se distinguant suffisamment d'une forme dont des traits importants sont liés à la technique, ne devraient pas être légion. Les divergences d'interprétation aux niveaux suisse et européen n'auront pas nécessairement une portée pratique aussi importante qu'on pourrait le croire de prime abord. Un commentateur a souligné à juste titre l'ironie de l'histoire, dans la mesure où le Parlement suisse avait jugé préférable d'utiliser l'expression " technisch notwendig " plutôt que " technisch bedingt " en mentionnant le modèle du droit européen, qui n'est finalement pas interprété aussi strictement que sa lettre le permettrait (FRANZ HACKER, in Markengesetz, 12e éd. 2018, p. 115, n° 129 et sous-note 328 ad § 3 MarkenG).  
Il importe en définitive d'apprécier chaque situation en fonction des circonstances concrètes, en tenant compte de la ratio legis qui est la même en droit suisse qu'en droit européen: les formes incorporant une solution technique doivent rester à la libre disposition du public. Il faut éviter d'octroyer, via le droit des marques, un monopole perpétuel alors que le législateur a voulu conférer à l'inventeur un avantage limité dans le temps pour lui permettre de recouvrer son investissement, avant d'autoriser une libre concurrence à l'expiration de cette protection.  
Il est temps de passer à l'examen du présent cas, en recherchant tout d'abord si les formes alternatives doivent être compatibles avec les machines à café Nespresso. 
 
6.6. Comme le relève l'arrêt attaqué, le café moulu peut être conditionné en monodoses de diverses façons, notamment sous la forme de capsules, de sachets ou de dosettes. Logiquement, il s'ensuit une diversité des systèmes de machines permettant d'extraire le café ainsi conditionné.  
L'autorité précédente a jugé que les formes alternatives devaient être compatibles avec le système Nespresso. Ce faisant, elle n'a pas enfreint la notion de nécessité technique au sens de l'art. 2 let. b LPM. La cour de céans avait du reste montré la voie en précisant au stade provisionnel que la thématique portait sur la possibilité de produire une capsule différente "qui soit utilisable de la même manière (donc dans les mêmes machines) " (arrêt précité 4A_36/2012 consid. 2.3). 
L'arrêt attaqué retient que Nestlé SA est le plus important distributeur de café en doses individuelles en Suisse, ce qui révèle par là même le succès du système Nespresso lié aux capsules-monodoses. La machine Pixie, qui est reproduite dans l'arrêt attaqué, est notoirement très appréciée. Dans leur publicité, les sociétés Nestlé se sont flattées d'avoir eu "la plus grande idée depuis l'invention de l'expresso", d'avoir initié une "révolution de palais" et d'avoir conçu une "machine à expresso techniquement parfaite" (arrêt attaqué p. 5). Au-delà de l'exagération classique du message publicitaire, il faut concéder que Nestlé SA a notoirement révolutionné le marché du café en monodoses. 
La décision entreprise ne constate pas que la machine à café Nespresso et/ou le compartiment à capsule bénéficieraient (encore) de la protection de brevets. Il y est tout au plus question d'un brevet suisse sur la capsule échu en décembre 1996 et d'un brevet européen radié en janvier 2005. Les recourantes ne remettent pas en cause cet état de fait qui lie la cour de céans. Si elles contestent qu'il faille restreindre le champ des solutions alternatives aux seules formes "Nespresso compatibles", elles ne plaident pas que des brevets s'opposeraient d'une façon ou d'une autre à la confection de capsules compatibles. 
Rien n'indique qu'il y ait (encore) une protection du droit des brevets sur un système très populaire. Les capsules Nespresso ne sont vendues que sur Internet et dans les boutiques Nespresso à un prix relativement cher, tandis qu'une machine à café de base Nespresso ne coûte proportionnellement pas très cher. Dans ce contexte, les concurrents, pour autant qu'ils adoptent une attitude loyale, doivent être libres de confectionner des capsules compatibles avec le système Nespresso. L'intérêt des consommateurs à ce que la concurrence joue en matière de capsules à café "Nespresso compatibles" est patent. 
Il convient donc d'examiner si la forme enregistrée est "techniquement nécessaire" pour les capsules compatibles avec le système Nespresso.  
 
6.7.  
 
6.7.1. L'autorité précédente a répondu par la négative, pour les motifs présentés ci-dessus (consid. 5.2.1). Son analyse méconnaît deux aspects de la jurisprudence. D'une part, un standard strict est de mise lorsqu'il s'agit de retenir l'existence de solutions alternatives: celles-ci doivent être équivalentes et ne pas entraîner d'inconvénients pour les concurrents, qui doivent être mis sur un pied d'égalité. Une solution n'entraînant que de faibles surcoûts n'est déjà pas admissible (cf. arrêt précité 4A_20/2012 consid. 3.2). De même, les concurrents n'ont pas à s'accommoder d'une solution alternative moins efficace, contrairement à ce que semble suggérer l'autorité précédente. D'autre part, celle-ci a omis d'examiner si les capsules alternatives se distinguaient suffisamment de la capsule Nespresso dans l'esprit du public acheteur (arrêt précité 4A_36/2012 consid. 2.3). La cour cantonale n'était pas dispensée d'effectuer un tel examen du seul fait que les sociétés Nestlé disaient s'accommoder des formes concurrentes testées par l'expert.  
 
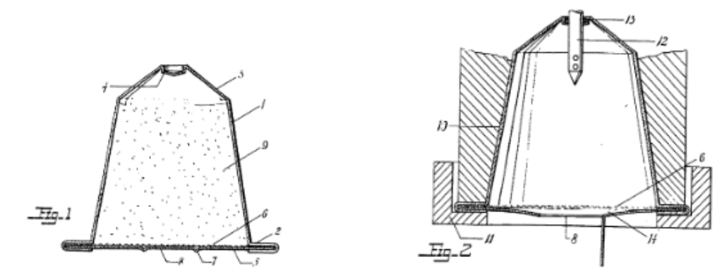
6.7.2. Il faut au préalable présenter brièvement le fonctionnement du système Nespresso, qui est décrit dans l'étude de faisabilité commandée par les sociétés Ethical Coffee.  
La capsule Nespresso, en aluminium, doit être insérée dans un compartiment à capsule logé dans la machine à café Nespresso. Un levier doit être abaissé; la capsule est alors centrée correctement et perforée sur le haut du cône par trois aiguilles logées au fond du compartiment (cf. le dessin infra). La collerette est comprimée pour assurer l'étanchéité.  
L'eau chaude est injectée sous haute pression à travers le compartiment, qui doit résister à la pression de l'eau et être étanche. Elle pénètre dans la capsule par les trois trous pratiqués et en ressort par le couvercle en aluminium, qui repose en appui sur une plaquette perforée et rompt sous l'effet de la pression. 
L'eau chaude s'écoule dans la tasse à café placée sous la plaquette perforée, tandis que l'eau résiduelle à l'extérieur de la capsule (mais à l'intérieur du compartiment, "volume mort") s'échappe dans un égouttoir situé à l'avant de la machine. 
En fin d'extraction, le levier est remonté et la capsule tombe dans un bac. 
 
 
 
 
 
 
6.7.3. En guise de formes alternatives, les sociétés Nestlé ont proposé cinq dessins de capsules "fictives" (cf. infra consid. 6.8) - dont deux ont semble-t-il fait l'objet d'un prototype - et ont présenté une série de capsules concurrentes vendues dans le commerce, dont elles admettaient qu'elles n'entraient pas dans le champ de protection de leur marque.  
La situation a évolué en cours de procédure: alors qu'il n'y avait à l'origine qu'une ou deux capsules concurrentes sur le marché suisse, de nouvelles capsules sont apparues progressivement, au point que l'expert E3.________ a été amené à tester vingt capsules. Celles-ci sont de deux sortes: les capsules pré-perforées (ou pré-percées) et les capsules hermétiques, lesquelles, à l'instar de la capsule Nespresso, nécessitent d'être percées par le mécanisme précité. 
Les capsules pré-perforées peuvent d'emblée être écartées des formes alternatives imposables aux concurrents. L'expert E1.________ a expliqué que ces capsules conservent moins bien le café et doivent être emballées individuellement dans un sachet étanche, à ouvrir juste avant usage - ce qui est corroboré par les éléments figurant au dossier cantonal. Il s'ensuit logiquement des frais d'emballage supplémentaires pour les sachets et la nécessité d'une boîte plus grande pour les présenter à la vente. On peut au demeurant se demander si, à long terme, cette solution préserve aussi bien l'arôme du café qu'une capsule hermétique, a fortiori une capsule hermétique en aluminium, matériau de la capsule Nespresso. 
 
6.7.4. L'expert E3.________ a été confronté entre autres aux allégations suivantes:  
 
1) Une capsule pouvant être utilisée avec une machine Nespresso et présentant les fonctionnalités requises pour la fabrication d'un café au moyen d'un processus d'extraction ne doit pas nécessairement avoir la forme géométrique d'une capsule Nespresso, en particulier la forme tronconique. 
2) Une telle capsule, de forme géométrique différente, n'est pas moins commode ni moins résistante qu'une capsule Nespresso. 
L'expert a confirmé la première affirmation "dans la mesure où le processus d'extraction ne dépend pas directement de la forme de la capsule". Il a aussi validé la seconde en précisant que la résistance d'une capsule dépend non seulement de la forme, mais aussi du matériau choisi. L'expert E1.________ a tenu des propos similaires. 
La cour cantonale s'appuie sur ces constats pour en déduire que les concurrents disposent de formes alternatives. Il faut toutefois garder à l'esprit qu'il s'agit là d'affirmations toutes générales à caractère théorique, qui ne dispensent pas d'examiner concrètement si des alternatives peuvent raisonnablement être imposées aux concurrents, ce qui suppose qu'elles soient équivalentes dans la perspective d'une concurrence efficace et qu'elles se démarquent suffisamment de la forme litigieuse. Une telle réponse n'est pas du ressort de l'expert technique mais du juge, une fois renseigné par les explications techniques recueillies. Si l'expert ne perçoit pas une forme comme une nécessité technique absolue, cela n'exclut pas encore qu'elle soit "techniquement nécessaire" au sens défini par la jurisprudence relative à l'art. 2 let. b LPM. En d'autres termes, il faut replacer ces prises de position dans le contexte global, sans négliger les autres commentaires de l'expert E3.________ et les renseignements fournis par l'expert E1.________, qui concordent à plusieurs égards avec l'étude de faisabilité mise en oeuvre par les sociétés Ethical Coffee.  
Cette étude et l'expertise E1.________ révèlent que la forme de la capsule Nespresso épouse au plus près la forme du compartiment à capsule. Celui-ci a une forme double tronconique et conique, avec un premier tronc de cône présentant une conicité de 15° environ, puis un second cône présentant une conicité de 120°. La capsule Nespresso s'approche au plus près de ces dimensions; elle présente des angles de conicité voisins de 15° et 120°. 
Cet élément n'est pas remis en cause par l'expert E3.________, lequel a concédé - logiquement - que la forme tronconique est la plus adaptée à la machine Nespresso puisqu'elle correspond le mieux à la paroi intérieure du compartiment à capsule. Le prénommé a en outre admis que la forme tronconique de la capsule facilite son centrage dans le compartiment à capsule lors de la fermeture du mécanisme; en revanche, la partie supérieure en forme de cône obtus ne semble pas jouer un rôle primordial de ce point de vue. Cet expert reconnaît la nécessité d'un bon centrage pour que les aiguilles transpercent la capsule aux endroits prévus: un perçage aux endroits non prévus peut entraîner un fonctionnement incorrect de la machine. En outre, un mauvais centrage peut, selon la forme exacte de la capsule, entraîner une perte d'étanchéité de la cavité pressurisée du compartiment; cela étant, la forme et les dimensions de la collerette jouent aussi un rôle important en matière d'étanchéité. 
L'expert E3.________ reconnaît que la forme d'un tronc conique avec un cône obtus sur le sommet présente un nombre réduit de "points d'attaque" pour le liquide pressurisé à l'intérieur de la capsule. Il lui semble ainsi raisonnable d'admettre - comme le fait l'expert E1.________ - que cette forme offre une stabilité mécanique accrue à la pression hydrostatique. 
La capsule Nespresso présente les paramètres suivants (schéma établi dans l'étude de faisabilité) : 
 
 
 
 
 
Selon l'expert E3.________, les paramètres suivants sont nécessaires au bon positionnement de la capsule dans le compartiment: 
 
- le diamètre extérieur de la capsule (D), 
- la longueur nominale hors tout (L), 
- la conicité de l'enveloppe (15°, identique à celle du compartiment, selon l'étude de faisabilité) 
- et, dans une moindre mesure, la longueur (J) et le diamètre (A), qui délimitent le contour permissible pour le compartiment donné. 
A l'instar de l'expert E1.________, l'expert E3.________ a souligné que la longueur est le paramètre important pour une perforation efficace des capsules hermétiques. 
Il concède aussi que dans la mesure où la capsule Nespresso s'approche au maximum de la paroi du compartiment à capsule, toute autre forme aura nécessairement un volume inférieur. Or, dans cette hypothèse, il y aura un plus grand volume d'eau résiduel (volume mort) qui s'écoulera dans le bac d'égouttoir de la machine, de sorte que celui-ci se remplira plus rapidement. On ne saurait nier qu'il s'ensuit un certain désagrément pour le consommateur; cela vaut en particulier dans la mesure où ledit bac d'écoulement est petit, ce qui est notoirement le cas sur les modèles de machines Pixie, dont l'arrêt attaqué contient une photo. 
A cela s'ajoute qu'une capsule d'un volume inférieur pourra contenir une quantité de café moindre. La qualité d'une tasse de café dépend certes de différents paramètres tels que la torréfaction, la mouture des grains et la qualité du produit. Il n'en demeure pas moins qu'il existe un certain consensus sur le fait qu'une dose minimale de 5 g de café paraît appropriée, la dose de 7 g (± 0,5 g) étant jugée idéale. Or, 5 g de café nécessite au minimum une capsule de 9,8 cm³. Il faut ainsi reconnaître aux concurrents le droit d'élaborer une capsule avec un volume suffisant pour détenir au moins cette quantité-ci. 
Toutes ces précisions montrent que les capsules concurrentes doivent composer avec la forme du compartiment à capsule dans lequel elles doivent être insérées. Une perforation de la capsule aux bons endroits et le maintien de l'étanchéité sont nécessaires au bon fonctionnement du mécanisme d'extraction. L es dimensions de la capsule s'en trouvent conditionnées. La forme et les dimensions de la collerette jouent également un rôle important dans l'étanchéité. Si l'on veut disposer d'une capsule offrant un fonctionnement et un résultat équivalents à une capsule Nespresso, les formes alternatives ne semblent guère pouvoir se démarquer sérieusement de celle-ci. 
La pratique corrobore ce constat. 
Les capsules hermétiques concurrentes testées par l'expert E3.________, qui figurent au dossier cantonal, présentent globalement une forme très similaire à la capsule Nespresso. En attestent aussi les photos figurant dans l'expertise: 
 
Cafés Le Bonifieur  
 
 
Café Royal (Migros)  
La Semeuse  
Best Espresso  
Rialto  
Trottet  
Le Temps des Cerises  
Maison Taillefer  
Nero (Denner)  
Mövenpick  
Caffitaly  
 
 
Les capsules se distinguent certes par quelques détails. D'aucunes se démarquent un peu plus que d'autres. On songe par exemple aux capsules Café Royal de Migros et La Semeuse (lesquelles sont identiques), qui présentent des reliefs sur les parois de la capsule ainsi que des créneaux sur le sommet. La capsule Nero de Denner présente aussi des reliefs et créneaux, moins prononcés. La capsule Caffitaly a beaucoup de fines rainures sur les parois. 
 
A priori, la confection de ces traits plus marqués semble de nature à entraîner des coûts supplémentaires. L'expert E1.________ a expliqué que la capsule Nespresso a un coût de production relativement modéré car sa forme n'est pas très complexe et la matière première peu onéreuse. Par ailleurs, ces capsules concurrentes sont en plastique, matériau plus souple que l'aluminium très résistant, ce qui facilite probablement l'insertion de reliefs et autres créneaux. Ce matériau plus souple présente cependant une résistance moindre, ce qui peut constituer un inconvénient vu la forte pression à laquelle la capsule est soumise. Il n'est en outre pas certain que le plastique préserve aussi bien l'arôme du café et le protège aussi bien de l'air et de l'humidité que ne le fait l'aluminium. La tendance plus récente (les tests ont été effectués en 2017) semble être à l'aluminium. 
S'il a relevé que l'extraction de la boisson fonctionnait bien avec toutes les capsules, l'expert a néanmoins constaté quelques dysfonctionnements. La capsule Rialto a été gravement abîmée lors de son utilisation. Plusieurs capsules n'ont pu être introduites du premier coup (La Semeuse, Nero de Denner et le Temps des Cerises); certaines sont restées coincées après l'extraction de la boisson (La Semeuse et Best Espresso). Dans une des machines, la boisson extraite de la capsule Nero de Denner était trop diluée. 
Quoi qu'il en soit, il faut concéder que toutes ces capsules concurrentes ne présentent pas de traits caractéristiques suffisamment marquants pour se distinguer d'une capsule Nespresso dans l'esprit du consommateur. La capsule Nespresso est composée de formes géométriques relativement simples; elle se distingue plutôt sur le haut du cône. L'arrêt attaqué contient un dessin qui montre une correspondance frappante entre la forme de la capsule Nespresso et un pot de crème Cremo. 
 
 
 
Par ailleurs, le sondage réalisé en 2015 relativise sérieusement la force distinctive que revêt la forme même de la capsule Nespresso. Seuls 33% des sondés ont affirmé reconnaître la marque à des aspects formels (forme/design: 29%, couvercle: 2%, bord et arrondis: 1%, rainures: 1%). 21% ont évoqué la publicité, la télévision ou l'acteur George Clooney. 9% ont affirmé que "c'[étai]t connu, tout simplement". La première place qu'occupe Nestlé SA dans la distribution des monodoses de café en Suisse ainsi que la publicité pratiquée (qui ne porte pas sur la seule capsule) semblent jouer un rôle important dans la reconnaissance des capsules. 
On ne saurait avoir des exigences trop élevées quant à l'attention d'un consommateur de produits courants, alors que les producteurs utilisent d'autres éléments, en particulier les emballages et des inscriptions sur la capsule ou sur le couvercle pour distinguer leurs produits. Il faut par ailleurs garder à l'esprit que l'exercice est très différent selon qu'on soumet au consommateur une capsule isolée, sans aucun repère de marque, ou selon qu'on lui montre simultanément différentes capsules permettant d'effectuer des comparaisons. 
En définitive, il appert que les capsules hermétiques testées par l'expert sont inaptes à se démarquer suffisamment de la capsule Nespresso dans l'esprit du consommateur. 
On relèvera au passage que les traits distinctifs au niveau de la forme paraissent encore plus ténus sur les capsules en aluminium apparues dans le commerce après les tests réalisés par l'expert E3.________. L'explication pourrait venir de l'expert mis en oeuvre dans la procédure saint-galloise et cité dans l'arrêt attaqué, lequel avait souligné que des formes alternatives en aluminium étaient peu concevables à cause des coûts de production plus élevés. 
Enfin, il n'est pas anodin de relever qu'à l'origine, les sociétés Nestlé étaient titulaires de brevets sur une capsule de café proche de la capsule litigieuse. Il serait par trop simpliste de se limiter à comparer les dessins du brevet et de la marque tridimensionnelle pour conclure à la nécessité technique de cette dernière. Les réflexions qui précèdent attestent que la cour de céans a évité cet écueil et a tenu compte des explications de l'expert E3.________, pour qui l'élément de nouveauté du brevet de 1976 [qui concerne une capsule légèrement différente de l'actuelle] ne résidait pas dans la forme même de la capsule. Il n'en demeure pas moins que la forme de la capsule doit composer avec le compartiment de la machine à café; or, pour le système global des capsules, machines à café Nespresso et compartiments à capsule, les sociétés Nestlé ont initialement bénéficié de la protection des droits de la propriété intellectuelle. Celle-ci ne saurait être perpétuée indéfiniment par le relais du droit des marques. 
 
6.8. Les sociétés Nestlé ont également proposé cinq formes alternatives "fictives". Celles-ci ont soit une forme "double tronconique" ou à double cône (capsules 1 et 5), soit une forme parabolique (capsules 2-4).  
 
Capsule fictive 1 (pièce 92)  
Capsule fictive 2 (pièce 93)  
Capsule fictive 3 (pièce 94)  
Capsule fictive 4 (pièce 95)  
Capsule fictive 5 (pièce 96)  
 
 
 
 
D'après l'expert E1.________, les formes 1 [92], 4 [95] et 5 [96] sont des capsules pré-perforées. Il faut admettre que les dessins des formes 1 [92] et 5 [96] révèlent de petits trous sur le sommet laissant présager que tel est bien le cas, ce qui les exclurait déjà du champ des formes alternatives possibles. 
Qui plus est, l'expert E3.________ a indiqué que la perforation des capsules à double cône pouvait être insuffisante. Elle pouvait également être incomplète ou nulle s'agissant des capsules à forme parabolique. Un test réalisé avec un prototype de capsule parabolique (sur le modèle de la capsule 2 [93]) montrait que la perforation était nulle; ce type de capsule devrait être pré-perforé. Le diamètre des capsules paraboliques était en outre susceptible de provoquer des problèmes d'étanchéité, voire des risques de déchirures. Qui plus, les cinq capsules avaient un volume moindre, permettant de stocker moins de 5 g de café et provoquant un remplissage plus rapide de l'égouttoir. On relèvera enfin l'aspect "théorique" de ces dessins et prototypes, par opposition aux capsules concurrentes ayant passé l'écueil de la commercialisation. 
Ces inconvénients excluent déjà que ces formes alternatives puissent être raisonnablement imposées aux concurrents - sans compter qu'elles ne semblent pas non plus se distinguer suffisamment de la capsule Nespresso. 
 
6.9. En définitive, la cour vaudoise n'a pas enfreint le droit fédéral en considérant que la forme de la capsule Nespresso ne peut être protégée par le droit des marques. Tout au plus faut-il procéder à une substitution de motif, en ce sens que le motif absolu d'exclusion découle déjà de l'art. 2 let. b LPM.  
 
7.  
Les recourantes n'ont pas formulé d'autres griefs. En particulier, elles ont renoncé à plaider que le comportement des sociétés Ethical Coffee tomberait sous le coup des art. 3 al. 1 let. d et e LCD. Aussi la discussion peut-elle s'achever ici. 
 
8.  
En définitive, le recours doit être rejeté et les frais de procédure imputés à ses auteurs, solidairement et à parts égales (art. 66 al. 1 et 5 LTF). Les intimés, créanciers solidaires, ont droit à une indemnité pour leurs frais d'avocat (art. 68 al. 1, 2 et 4 LTF). 
 
 
Par ces motifs, le Tribunal fédéral prononce :  
 
 
1.  
Le recours est rejeté. 
 
2.  
Les frais judiciaires, arrêtés à 25'000 fr., sont mis à la charge des recourantes, solidairement entre elles. 
 
3.  
Les recourantes sont condamnées solidairement à verser aux intimés, créanciers solidaires, une indemnité de 30'000 fr. à titre de dépens. 
 
4.  
Le présent arrêt est communiqué aux parties, au Tribunal cantonal du canton de Vaud et à l'Institut Fédéral de la Propriété Intellectuelle. 
 
 
Lausanne, le 7 septembre 2021 
 
Au nom de la Ire Cour de droit civil 
du Tribunal fédéral suisse 
 
La Juge présidant : Kiss 
 
La Greffière : Monti