Wichtiger Hinweis:
Diese Website wird in älteren Versionen von Netscape ohne graphische Elemente dargestellt. Die Funktionalität der Website ist aber trotzdem gewährleistet. Wenn Sie diese Website regelmässig benutzen, empfehlen wir Ihnen, auf Ihrem Computer einen aktuellen Browser zu installieren.
 
 
Bundesgericht 
Tribunal fédéral 
Tribunale federale 
Tribunal federal 
 
 
 
 
4A_490/2020  
 
 
Urteil vom 25. Mai 2021  
 
I. zivilrechtliche Abteilung  
 
Besetzung 
Bundesrichterin Kiss, präsidierendes Mitglied, 
Bundesrichterin Niquille, 
Bundesrichter Rüedi, Bovey, 
Bundesrichterin May Canellas, 
Gerichtsschreiber Leemann. 
 
Verfahrensbeteiligte 
A.________ AG, 
vertreten durch Rechtsanwalt Dr. Thierry Calame 
und Rechtsanwältin Lara Dorigo, 
Beschwerdeführerin, 
 
gegen  
 
B.________ GmbH, 
vertreten durch Rechtsanwälte Dr. Michael Ritscher 
und Dr. Walter Häberling, 
Beschwerdegegnerin. 
 
Gegenstand 
Patentnichtigkeit, 
 
Beschwerde gegen das Urteil des Bundespatentgerichts vom 19. August 2020 (O2019_003). 
 
 
Sachverhalt:  
 
A.  
 
A.a. B.________ GmbH (Klägerin, Beschwerdegegnerin) ist eine Gesellschaft mit Sitz in Deutschland.  
A.________ AG (Beklagte, Beschwerdeführerin) ist eine Gesellschaft mit Sitz in der Schweiz. 
Die Beklagte ist eingetragene Inhaberin des europäischen Patents EP uuu (nachfolgend Streitpatent), das am 29. Februar 2008 angemeldet und dessen Erteilung am 22. Dezember 2010 veröffentlicht wurde. Das Streitpatent beansprucht die Priorität der US vvv vom 12. Juni 2007. 
 
A.b. Das Streitpatent betrifft Kartuschen, um Intraokularlinsen (IOL) in das Auge einzuführen. Es geht von der sog. wundunterstützten Einführmethode aus, bei der die Spitze der Kartusche nicht vollständig in die Wunde eingeführt wird, sondern die Wunde selbst teilweise einen Tunnel für das Einführen in die vordere Kammer bildet. Bei herkömmlichen Verfahren sei der Erfolg stark vom Grad der Fähigkeiten und der Geschicklichkeit des Chirurgen abhängig gewesen. Die EP www habe eine IOL-Einführvorrichtung vorgeschlagen, die eine flache oder abgeschrägte Düsenöffnung umfasse sowie einen proximal der Öffnung angeordneten peripheren Vorsprung zum Verhindern eines Ausflusses aus der Wunde nach dem vollständigen Einführen der Düse. Ebenfalls aus dem Stand der Technik, aus der US xxx und der US yyy, seien IOL-Einführvorrichtungen mit einer abgeschrägten Düsenöffnung zur vollständigen Einführung in einen Einschnitt bekannt. Gemäss der Beschreibungseinleitung des Streitpatents habe aber weiterhin das Bedürfnis für eine IOL-Einführkartusche mit Eigenschaften bestanden, die für die wundunterstützte Einführung spezifisch hilfreich seien.  
Dazu wird vorgeschlagen, die Kartusche mit einem erweiterten Dach ("extended canopy") zu versehen, das am distalen Ende der Kartusche angeordnet ist und die Wunde öffnet und stützt, während es die gefaltete Linse beim Passieren der Wunde führt und steuert. Zudem weist die Kartusche einen peripheren Vorsprung auf ("peripheral protrusion"), der die Einführtiefe begrenzt und das vollständige Einführen der Spitze verhindert. Der Vorsprung stützt zudem den Einschnitt, um das Risiko des Auftretens von Schäden an der Wunde durch Risse zu reduzieren. 
Der einzige unabhängige Anspruch 1 des Streitpatents lautet - nach der Merkmalsgliederung der Klägerin, der sich die Beklagte angeschlossen hat - wie folgt: 
 
"1.1 An intraocular lens injector cartridge (10), comprising: 
 
1.2 a body (12) having an internal lumen (15); 
1.3 a tubular nozzle (14) having an outer wall (36) and an opening (18), 
1.3.1 the nozzle projecting distally from the body, 
1.3.2 the opening being fluidly connected to the internal lumen of the body; 
1.3.3 and wherein 
a) the nozzle opening is defined by an extended canopy (20, 20', 20'') 
b) projecting distally from a plane of the opening (18, 18', 18'') 
c) at least partially encircling the opening; 
1.4 at least one peripheral protrusion (22) extending laterally from the outer wall of the nozzle proximally from the opening; 
1.4.1 the at least one peripheral protrusion (22) is spaced proximally from the plane of the opening so as to provide an insertion depth limitation and prevent full insertion of the cartridge tip, in use." 
Im Rahmen des Erteilungsverfahrens war das Streitpatent in Bezug auf die Merkmale 1.3.3 und 1.4.1 abgeändert worden. 
 
B.  
 
B.a. Mit Klage vom 11. Januar 2019 beantragte die Klägerin dem Bundespatentgericht, es sei der schweizerische und der liechtensteinische Teil des europäischen Patents EP uuu der Beklagten nichtig zu erklären.  
Die Beklagte beantragte die Abweisung der Klage. Zudem stellte sie die folgenden Eventualanträge: 
 
"1. Note shall be taken of the following limitation of claim 1 of EP uuu and the Complaint shall be otherwise dismissed: 
An intraocular lens injector cartridge (10) for wound-assisted IOL insertion, comprising:  
a body (12) having an internal lumen (15); 
a tubular nozzle (14) having an outer wall (36) and an opening (18), 
the nozzle projecting distally from the body, 
the opening being fluidly connected to the internal lumen of the body; 
and wherein 
the nozzle opening is defined by an extended canopy (20, 20', 20") 
projecting distally from a plane of the opening (18, 18', 18") 
at least partially encircling the opening; 
at least one peripheral protrusion (22) extending laterally from the other wall of the nozzle proximally from the opening; 
the at least one peripheral protrusion (22) is spaced proximally from the plane of the opening so as to provide an insertion depth limitation and prevent full insertion of the cartridge tip, in use. 
2. Subsidiarily, note shall be taken of the following limitation of claim 1 of EP uuu and the Complaint shall be otherwise dismissed:  
An intraocular lens injector cartridge (10) for wound-assisted IOL insertion, comprising:  
a body (12) having an internal lumen (15); 
a tubular nozzle (14) having an outer wall (36) and an opening (18), 
the nozzle projecting distally from the body, 
the opening being fluidly connected to the internal lumen of the body; 
and wherein 
the nozzle opening is defined by an extended canopy (20, 20', 20") 
projecting distally from a plane of the opening (18, 18', 18') 
at least partially encircling the opening, wherein the canopy opens and supports the wound while guiding and controlling the folded lens as it passes through the wound;  
at least one peripheral protrusion (22) extending laterally from the other wall of the nozzle proximally from the opening; 
the at least one peripheral protrusion (22) is spaced proximally from the plane of the opening so as to provide an insertion depth limitation and prevent full insertion of the cartridge tip, in use." 
 
B.b. Am 9. September 2019 fand eine Instruktionsverhandlung statt. Eine Einigung konnte dabei nicht erzielt werden.  
Am 22. Oktober 2019 erstattete die Klägerin die Replik und hielt an ihren Rechtsbegehren fest. 
Am 5. Dezember 2019 reichte die Beklagte die Duplik ein. Sie hielt an ihren Haupt- und Eventualanträgen der Klageantwort fest und stellte zusätzlich den folgenden dritten Eventualantrag: 
 
"3. Sub-subsidiarily, note shall be taken of the following limitation of claim 1 of EP uuu and the Complaint shall be otherwise dismissed: 
An intraocular lens injector cartridge (10) for wound-assisted IOL insertion, comprising:  
a body (12) having an internal lumen (15),· 
a tubular nozzle (14) having an outer wall (36) and an opening (18), 
the nozzle projecting distally from the body, 
the opening being fluidly connected to the internal lumen of the body; 
and wherein 
the nozzle opening is defined by an extended canopy (20, 20', 20'') 
projecting distally from a plane of the opening (18, 18', 18') 
at least partially encircling the opening, wherein the canopy (20) entirely surrounds the opening (18), and wherein the canopy opens and supports the wound while guiding and controlling the folded lens as it passes through the wound;  
at least one peripheral protrusion (22) extending laterally from the other wall of the nozzle proximally from the opening; 
the at least one peripheral protrusion (22) is spaced proximally from the plane of the opening so as to provide an insertion depth limitation and prevent full insertion of the cartridge tip, in use." 
Am 9. April 2020 erstattete der zuständige Patentrichter sein Fachrichtervotum. 
Am 6. Juli 2020 fand die Hauptverhandlung statt. 
 
B.c. Mit Urteil vom 19. August 2020 hiess das Bundespatentgericht die Klage gut und stellte fest, dass der schweizerische und liechtensteinische Teil des Streitpatents nichtig ist.  
Es erwog, Änderungen der Patentansprüche im Rahmen des Erteilungsverfahrens hätten zu einem Anspruchsgegenstand geführt, der in den ursprünglich eingereichten Unterlagen so nicht offenbart worden sei, weshalb eine unzulässige Änderung im Sinne von Art. 123 Abs. 2 EPÜ 2000 vorliege. Die unzulässige Änderung folge aus der Auslegung der Begriffe "plane of the opening" und "spaced proximally from" und werde durch die weiter eingeschränkten Ansprüche gemäss den Eventualanträgen der Beklagten nicht behoben. Das Streitpatent erweise sich daher insgesamt als nichtig. 
 
C.  
Mit Beschwerde in Zivilsachen beantragt die Beklagte dem Bundesgericht, es sei das Urteil des Bundespatentgerichts vom 19. August 2020 aufzuheben und die Sache sei zur Neubeurteilung an die Vorinstanz zurückzuweisen. 
Die Beschwerdegegnerin beantragt, die Beschwerde sei abzuweisen, soweit darauf einzutreten sei. Eventualiter sei - aus anderen, im angefochtenen Entscheid nicht beurteilten Gründen (fehlende Neuheit bzw. fehlende erfinderische Tätigkeit) - die Nichtigkeit des Anteils Schweiz/Liechtenstein des Streitpatents festzustellen. 
Die Beschwerdeführerin erstattete dem Bundesgericht eine Replik, die Beschwerdegegnerin eine Duplik. 
Am 12. Februar 2021 reichte die Beschwerdegegnerin dem Bundesgericht eine Noveneingabe ein. Am 4. März 2021 reichte sie ihm ihre Honorarnote ein, zu der sich die Beschwerdeführerin am 16. März 2021 äusserte. Dazu nahm die Beschwerdegegnerin in einer weiteren Eingabe vom 22. März 2021 Stellung. 
Am 14. April 2021 reichte die Beschwerdegegnerin dem Bundesgericht eine weitere Eingabe ein, zu der sich die Beschwerdeführerin nicht mehr äusserte. 
 
D.  
Mit Verfügung vom 18. Februar 2021 wurde den Parteien mitgeteilt, es sei im Rahmen der Bearbeitung der Beschwerde festgestellt worden, dass das angefochtene Urteil in Dispositiv-Ziffer 1 ein anderes Patent aufführe, als in der Klage beantragt worden war und Gegenstand des vorinstanzlichen Verfahrens bildete. Entsprechend wurde das Beschwerdeverfahren unterbrochen, um den Parteien und dem Bundespatentgericht Gelegenheit zu geben, gegebenenfalls ein Berichtigungsverfahren einzuleiten. 
Mit Beschluss vom 23. Februar 2021 berichtigte das Bundespatentgericht den Schreibfehler in Dispositiv-Ziffer 1 seines Urteils vom 19. August 2020 (statt EP zzz, richtig EP uuu). 
 
 
Erwägungen:  
 
1.  
Das Bundesgericht prüft von Amtes wegen und mit freier Kognition, ob ein Rechtsmittel zulässig ist (Art. 29 Abs. 1 BGG; BGE 145 I 121 E. 1; 143 III 140 E. 1; 141 III 395 E. 2.1). 
 
1.1. Die Beschwerde betrifft eine Zivilsache (Art. 72 BGG), sie richtet sich gegen einen Endentscheid (Art. 90 BGG) des Bundespatentgerichts (Art. 75 Abs. 1 BGG), die Beschwerdeführerin ist mit ihren Anträgen nicht durchgedrungen (Art. 76 Abs. 1 BGG), ein Streitwert ist nicht erforderlich (Art. 74 Abs. 2 lit. e BGG) und die Beschwerdefrist ist eingehalten (Art. 100 Abs. 1 BGG).  
Auf die Beschwerde ist unter Vorbehalt hinreichender Begründung (Art. 42 Abs. 2 und Art. 106 Abs. 2 BGG) einzutreten. 
 
1.2. Die Beschwerdeschrift hat ein Rechtsbegehren zu enthalten (Art. 42 Abs. 1 BGG). Da die Beschwerde in Zivilsachen ein reformatorisches Rechtsmittel ist (Art. 107 Abs. 2 BGG), darf sich die beschwerdeführende Partei grundsätzlich nicht darauf beschränken, die Aufhebung des angefochtenen Entscheids zu beantragen, sondern sie muss einen Antrag in der Sache stellen. Anträge auf Rückweisung der Sache an die Vorinstanz zu neuer Entscheidung oder blosse Aufhebungsanträge genügen nicht und machen die Beschwerde unzulässig (BGE 133 III 489 E. 3.1). Ein blosser Rückweisungsantrag reicht ausnahmsweise aus, wenn das Bundesgericht im Falle der Gutheissung nicht selbst in der Sache entscheiden könnte (BGE 136 V 131 E. 1.2; 134 III 379 E. 1.3; 133 III 489 E. 3.1).  
Wie die Beschwerdeführerin zutreffend vorbringt, hat die Vorinstanz die Fragen der Neuheit und der erfinderischen Tätigkeit offengelassen, weshalb die Sache im Falle der Gutheissung der Beschwerde zur Beurteilung dieser Fragen an die Vorinstanz zurückzuweisen wäre. Die tatsächlichen Feststellungen im angefochtenen Entscheid bilden - entgegen dem, was die Beschwerdegegnerin anzunehmen scheint - keine ausreichende Grundlage, um diese Fragen zu beurteilen. Der Rückweisungsantrag der Beschwerdeführerin ist daher zulässig. 
 
1.3. Das Bundesgericht wendet das Recht von Amtes wegen an (Art. 106 Abs. 1 BGG). Es ist somit weder an die in der Beschwerde geltend gemachten Argumente noch an die Erwägungen der Vorinstanz gebunden; es kann eine Beschwerde aus einem anderen als dem angerufenen Grund gutheissen oder eine Beschwerde mit einer von der Argumentation der Vorinstanz abweichenden Begründung abweisen. Mit Blick auf die Begründungspflicht der beschwerdeführenden Partei (Art. 42 Abs. 1 und 2 BGG) behandelt es aber grundsätzlich nur die geltend gemachten Rügen, sofern die rechtlichen Mängel nicht geradezu offensichtlich sind; es ist jedenfalls nicht gehalten, wie eine erstinstanzliche Behörde alle sich stellenden rechtlichen Fragen zu untersuchen, wenn diese vor Bundesgericht nicht mehr vorgetragen werden (BGE 140 III 115 E. 2; 137 III 580 E. 1.3; 135 III 397 E. 1.4). Eine qualifizierte Rügepflicht gilt hinsichtlich der Verletzung von Grundrechten und von kantonalem und interkantonalem Recht. Das Bundesgericht prüft eine solche Rüge nur insofern, als sie in der Beschwerde präzise vorgebracht und begründet worden ist (Art. 106 Abs. 2 BGG). Macht die beschwerdeführende Partei beispielsweise eine Verletzung des Willkürverbots (Art. 9 BV) geltend, genügt es nicht, wenn sie einfach behauptet, der angefochtene Entscheid sei willkürlich; sie hat vielmehr im Einzelnen zu zeigen, inwiefern der angefochtene Entscheid offensichtlich unhaltbar ist (BGE 141 III 564 E. 4.1; 140 III 16 E. 2.1, 167 E. 2.1; je mit Hinweisen). Stützt sich der angefochtene Entscheid auf mehrere selbständige Begründungen, so muss sich die Beschwerde mit jeder einzelnen auseinandersetzen, sonst wird darauf nicht eingetreten (BGE 142 III 364 E. 2.4 mit Hinweisen; vgl. auch BGE 143 IV 40 E. 3.4).  
Unerlässlich ist im Hinblick auf Art. 42 Abs. 2 und Art. 106 Abs. 2 BGG, dass die Beschwerde auf die Begründung des angefochtenen Entscheids eingeht und im Einzelnen aufzeigt, worin eine Rechtsverletzung liegt. Die beschwerdeführende Partei soll in der Beschwerdeschrift nicht bloss die Rechtsstandpunkte, die sie im vorinstanzlichen Verfahren eingenommen hat, erneut bekräftigen, sondern mit ihrer Kritik an den als rechtsfehlerhaft erachteten Erwägungen der Vorinstanz ansetzen (BGE 140 III 86 E. 2, 115 E. 2). Die Begründung hat ferner in der Beschwerdeschrift selbst zu erfolgen und der blosse Verweis auf Ausführungen in anderen Rechtsschriften oder auf die Akten reicht nicht aus (BGE 143 II 283 E. 1.2.3; 140 III 115 E. 2). 
 
1.4. Das Bundesgericht legt seinem Urteil den Sachverhalt zugrunde, den die Vorinstanz festgestellt hat (Art. 105 Abs. 1 BGG). Dazu gehören sowohl die Feststellungen über den streitgegenständlichen Lebenssachverhalt als auch jene über den Ablauf des vor- und erstinstanzlichen Verfahrens, also die Feststellungen über den Prozesssachverhalt (BGE 140 III 16 E. 1.3.1 mit Hinweisen). Es kann die Sachverhaltsfeststellung der Vorinstanz nur berichtigen oder ergänzen, wenn sie offensichtlich unrichtig ist oder auf einer Rechtsverletzung im Sinne von Art. 95 BGG beruht; zudem muss die Behebung des Mangels für den Ausgang des Verfahrens entscheidend sein können (Art. 97 Abs. 1 und Art. 105 Abs. 2 BGG). "Offensichtlich unrichtig" bedeutet dabei "willkürlich" (BGE 140 III 115 E. 2; 135 III 397 E. 1.5). Neue Tatsachen und Beweismittel dürfen nur so weit vorgebracht werden, als erst der Entscheid der Vorinstanz dazu Anlass gibt (Art. 99 Abs. 1 BGG).  
Für eine Kritik am festgestellten Sachverhalt gilt ebenfalls das strenge Rügeprinzip von Art. 106 Abs. 2 BGG (BGE 140 III 264 E. 2.3 mit Hinweisen). Die Partei, welche die Sachverhaltsfeststellung der Vorinstanz anfechten will, muss klar und substanziiert aufzeigen, inwiefern diese Voraussetzungen erfüllt sein sollen (BGE 140 III 16 E. 1.3.1 mit Hinweisen). Wenn sie den Sachverhalt ergänzen will, hat sie zudem mit präzisen Aktenhinweisen darzulegen, dass sie entsprechende rechtsrelevante Tatsachen und taugliche Beweismittel bereits bei den Vorinstanzen prozesskonform eingebracht hat (BGE 140 III 86 E. 2). Genügt die Kritik diesen Anforderungen nicht, können Vorbringen mit Bezug auf einen Sachverhalt, der vom angefochtenen Entscheid abweicht, nicht berücksichtigt werden (BGE 140 III 16 E. 1.3.1). 
 
2.  
Die Vorinstanz bejahte ihre Zuständigkeit unter Hinweis auf Art. 1 Abs. 2 IPRG (SR 291) in Verbindung mit Art. 22 Ziff. 4 LugÜ (0.275.12) und Art. 26 Abs. 1 lit. a PatGG (SR 173.41) sowie Art. 1 und Art. 4 Abs. 1 des Vertrags vom 22. Dezember 1978 zwischen der Schweizerischen Eidgenossenschaft und dem Fürstentum Liechtenstein über den Schutz der Erfindungspatente (Patentschutzvertrag; SR 0.232.149.514). Die Parteien stellen die Zuständigkeit des Bundespatentgerichts zu Recht nicht in Frage. 
 
3.  
 
3.1. Die Vorinstanz hielt zur Definition des massgebenden Fachmanns fest, dieser werde durch ein Team gebildet, das einen Medizintechniker umfasse, typischerweise einen Ingenieur mit Hochschulabschluss mit Erfahrung in der Entwicklung augenheilkundlicher Instrumente, und einen Mediziner, insbesondere mit Kenntnissen in der Augenchirurgie, der mit der Implantierung von intraokularen Linsen vertraut ist.  
 
3.2. Zur Auslegung führte sie aus, Patentansprüche seien nach Art. 51 Abs. 3 des Bundesgesetzes vom 25. Juni 1954 über die Erfindungspatente (Patentgesetz, PatG; SR 232.14) bzw. Art. 69 des Europäischen Patentübereinkommens vom 5. Oktober 1973, revidiert in München am 29. November 2000 (EPÜ 2000; SR 0.232.142.2) aus der Sicht des massgebenden Fachmanns im Lichte der Beschreibung und der Zeichnungen auszulegen. Das allgemeine Fachwissen sei als sogenannter liquider Stand der Technik ebenfalls Auslegungsmittel. Definiere die Patentschrift einen Begriff nicht abweichend, so sei vom üblichen Verständnis im betreffenden technischen Gebiet auszugehen.  
Patentansprüche seien funktional auszulegen, d.h. ein Merkmal solle so verstanden werden, dass es den vorgesehenen Zweck erfüllen könne. Der Anspruch solle im Zweifelsfall so gelesen werden, dass die im Patent genannten Ausführungsbeispiele wortsinngemäss erfasst werden; andererseits sei der Anspruchswortlaut nicht auf die Ausführungsbeispiele einzuschränken, wenn er weitere Ausführungsformen erfasse. Wenn in der Rechtsprechung von einer "breitesten Auslegung" von Anspruchsmerkmalen gesprochen werde, so müsse das derart verstandene Merkmal immer in der Lage sein, seinen Zweck im Rahmen der Erfindung zu erfüllen. D.h. der Anspruch sei grundsätzlich nicht unter seinem Wortlaut auszulegen, aber auch nicht so, dass Ausführungsformen erfasst werden, die die erfindungsgemässe Wirkung nicht erzielen. Die Entstehungsgeschichte bzw. das Erteilungsverfahren seien für die Auslegung der Patentansprüche nicht massgebend. Verzichte und Beschränkungen, die der Anmelder im Erteilungsverfahren vorgenommen habe, seien nur insoweit zu berücksichtigen, als sie in den Patentansprüchen sowie allenfalls in der Beschreibung zum Ausdruck kämen. 
 
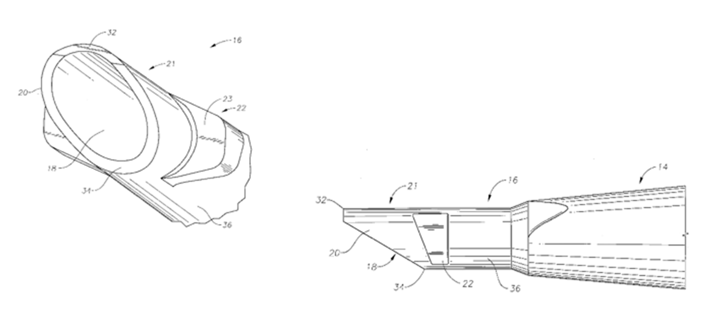
3.3. Das Streitpatent offenbare mehrere konkrete Ausführungsformen. Gemäss Beschreibung zeigten die Figuren 2 und 3 eine erste Ausführungsform einer distalen Spitze der Kartusche, die Figur 4 zeige eine zweite Ausführungsform und die Figur 5 eine dritte Ausführungsform. Bei einem Vergleich der Figur 2 mit der Figur 3 ergäben sich Widersprüche. So scheine der seitliche ("peripheral") Vorsprung (22) gemäss der Figur 2 deutlich vom distalen Ende der Spitze beabstandet zu sein und zwar entlang des gesamten Umfangs. Bei der Figur 3 scheine dies dagegen betreffend des "oberen" Teils des seitlichen Vorsprungs nicht der Fall zu sein, dort liege der Vorsprung weiter vorne als das untere Ende der schrägen Öffnung. Figur 6 scheine in Bezug auf die Kartuschenspitze der Figur 3 zu entsprechen.  
 
 
 
Figur 2 (links) und Figur 3 (rechts) aus dem Streitpatent 
Der Fachmann gehe davon aus, dass eine Seitenansicht wie in der Figur 3 (bzw. Figur 6) zur genauen Darstellung der Geometrie eines Gegenstandes geeignet sei; dagegen handle es sich beim perspektivischen Schrägbild gemäss Figur 2 um eine zeichnerische Darstellung, die normalerweise qualitativer Art sei. Weil der Fachmann der Beschreibung entnehme, dass die Figuren 2 und 3 dieselbe Ausführungsform zeigten, gehe er deshalb davon aus, dass Geometrie und Anordnung des seitlichen Vorsprungs im Detail so seien wie den Figuren 3 und 6 entnehmbar, d.h. die distale Seite des seitlichen Vorsprungs verlaufe schräg, in einem Winkel zu einer Ebene senkrecht zur Längsausdehnung der Spitze. Die distale Seite des Vorsprungs schneide zudem eine solche senkrechte Ebene, die am hinteren Ende des zulaufenden Teils positioniert sei. 
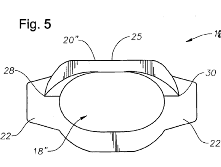
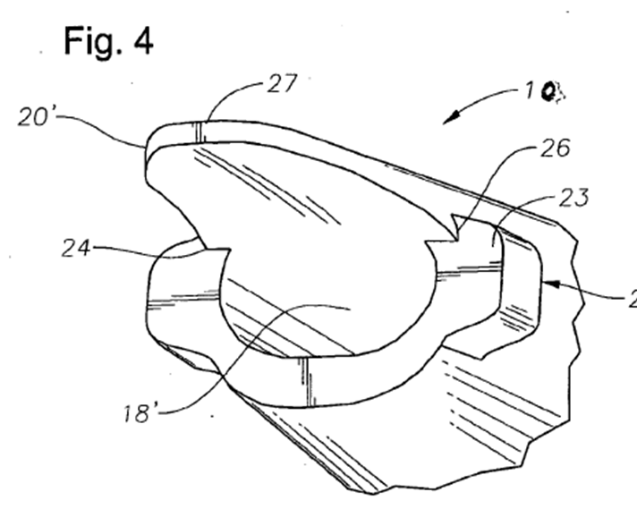
Unstrittig sei, dass bei den Ausführungsformen gemäss den Figuren 4 und 5 des Streitpatents der seitliche Vorsprung (22) direkt hinter der Düsenöffnung und bündig mit dieser liege, d.h. nicht beabstandet von dieser sei. 
 
 
 
 
 
Figuren 4 und 5 aus dem Streitpatent 
Die Vorinstanz wies in der Folge darauf hin, dass die Parteien unterschiedliche Auffassungen zur Bedeutung der folgenden Merkmale/Begriffe vertreten: 
 
1.3.3 (a) the nozzle opening is defined by an extended canopy;  
1.3.3 (b) projecting distally from a plane of the opening;  
1.4.1 the at least one peripheral protrusion is spaced proximally from the plane of the opening so as to provide an insertion depth limitation and prevent full insertion of the cartridge tip, in use.  
 
3.4. Zur Auslegung des Begriffs "extended canopy" (erweitertes Dach) erwog die Vorinstanz, der Fachmann gehe davon aus, dass eine gewisse Stützung der Wunde und eine gewisse Führung der Linse durch ein Dach bereits dann stattfänden, wenn sich das Dach bei der Anwendung nur geringfügig in die Wunde erstrecke. Auch wenn Geometrie und Positionierung der Vorsprünge bekannt seien, sei deshalb nicht ersichtlich, welche Mindestlänge für eine "extended canopy" gefordert wäre und wie genau diese mit weiteren Eigenschaften wie z.B. der Geometrie des Dachs und der Öffnung oder der Anordnung des Vorsprungs zusammenhängen würde. Somit habe der Zusatz "extended" keine erkennbare einschränkende Wirkung - jedes "Dach", das die weiteren Merkmale des Anspruchs erfülle, sei vom Begriff "extended canopy" umfasst, so lange das Dach geeignet sei, in die Wunde eingeführt zu werden und diese in einem gewissen Umfang zu stützen.  
 
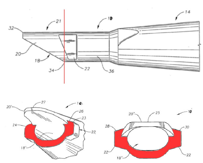
3.5. Zur Auslegung des Begriffs "plane of the opening" (Öffnungsebene) führte die Vorinstanz unter Hinweis auf eine von der Beschwerdegegnerin eingereichte Abbildung aus, dass verschiedene Positionen der Öffnungsebene denkbar seien:  
 
 
 
Figur 3 des Streitpatents mit farbig eingezeichneten verschiedenen denkbaren "planes of the opening" 
Die Vorinstanz erwog, der Fachmann werde gestützt auf das Streitpatent nicht davon ausgehen, dass es sich bei der Öffnungsebene um eine beliebige virtuelle Ebene handle, die sich je nach Ausführungsform an einer unterschiedlich definierten Stelle befinde. Im Anspruch habe die Öffnungsebene einen Bezug zu einem physischen Merkmal des Injektors, nämlich zur Öffnung der Düse; die Öffnungsebene sei nicht als losgelöstes, "virtuelles" Merkmal eingeführt, wie von der Beschwerdeführerin geltend gemacht. Zudem wäre bei einer quasi-beliebigen virtuellen Ebene das nachstehend diskutierte Erfordernis eines Abstands zwischen der Ebene und dem seitlichen Vorsprung bedeutungslos. Der Fachmann werde somit die Öffnungsebene an einer ausgehend von der Geometrie und Position der Öffnung bestimmten funktional passenden Stelle im Injektor verorten. Zwar sei es richtig, dass der Anspruch 1 des Streitpatents bei der ersten Nennung der Öffnungsebene von " der Öffnungsebene" spreche und bei der zweiten Nennung von " einer Öffnungsebene", was ungewöhnlich sei, wenn die gleiche Ebene gemeint sei. Üblicherweise würde dann zuerst der unbestimmte Artikel und anschliessend der bestimmte Artikel verwendet. Mehr als eine sprachliche Ungenauigkeit entnehme der Fachmann der vorliegenden "umgekehrten" Verwendung der Artikel aber nicht; ohne weitere Hinweise lasse sich der Vertauschung auf jeden Fall nicht entnehmen, dass die "plane of the opening" im Sinne der Beschwerdeführerin beliebig zu verorten wäre.  
Der Fachmann entnehme der Beschreibung des Streitpatents, dass das Dach der ersten Ausführungsform die Öffnung ("opening 18") vollständig umgebe und dass es sich, ausgehend von seiner maximalen Länge bei 12 Uhr, verjünge, bis es bei 6 Uhr bündig mit der Öffnung sei ("flush with opening 18") (Abs. [0017]). Die Öffnungsebene könne also nicht durch das vordere Ende des Dachs gebildet sein (grüne Linie in Abbildung 3 oben), sondern müsse (ausser bei 6 Uhr) proximal hinter diesem vorderen Ende angeordnet sein, ansonsten würde die klare Aussage zum Verlauf des Dachs in der Beschreibung keinen Sinn ergeben. 
Bei den Ausführungsbeispielen gemäss den Figuren 4 und 5 sei es dann ohne Weiteres klar, dass die Öffnungsebene (Bezugszeichen 18' bzw. 18'') dort zu verorten sei, wo das diese nur teilweise umgebende Dach beginne. Der Fachmann werde entsprechend den - nicht in der Beschreibung erwähnten - Begriff "plane of the opening" als Ebene auffassen, in der die Öffnung lokalisiert, d.h. das Lumen nicht mehr vollständig vom Mantel umschlossen sei. Bei den Ausführungsbeispielen gemäss den Figuren 4 und 5 sei dies offenbar jeweils eine Ebene senkrecht zur Längsachse der Kartusche. Mangels ausdrücklicher Definition müsse der Fachmann deshalb davon ausgehen, dass die Öffnungsebene auch beim Ausführungsbeispiel gemäss den Figuren 2 und 3 so definiert sei, d.h. senkrecht zur Längsachse der Kartusche. 
Es ergebe sich also bei den Ausführungsbeispielen folgende Lage der "plane of the opening" (in der nachstehenden Abbildung 4 rot eingezeichnet) : 
 
 
 
Figuren 3, 4 und 5 aus dem Streitpatent mit rot markierter "plane of opening" (rote Markierung durch das Bundespatentgericht hinzugefügt)  
 
3.6. Zur Auslegung des Begriffs "peripheral protrusion is spaced proximally from the plane of the opening" hielt die Vorinstanz fest, gemäss Wortlaut des Merkmals 1.4.1 solle der seitliche Vorsprung in proximaler Richtung von der Öffnungsebene beabstandet ("spaced from") sein. Nach gängigem Sprachverständnis bedeute "to space": "to arrange things so that there is some distance or time between them", "to place at intervals or arrange with space between" oder "to position (two or more items) at a distance from one another". Ein Abstand, der gegen Null gehe, sei von diesem Verständnis nicht mehr gedeckt, da es dann am nach dem allgemeinen Sprachgebrauch notwendigen Abstand zwischen den Elementen mangle. Die Beschwerdeführerin behaupte nicht, dass auf dem technischen Gebiet der Erfindung ein anderes Verständnis von "spaced from" vorherrschen würde, das zu einem abweichenden Verständnis des Anspruchswortlauts führen würde. Sie behaupte auch nicht, dass sich in der Patentschrift eine ausdrückliche abweichende Definition des Begriffs "spaced from" finde, die zu berücksichtigen wäre.  
Zur funktionalen Auslegung sei zu sagen, dass seitliche Vorsprünge, die ohne Abstand unmittelbar hinter der Öffnungsebene - wie sie vorstehend definiert wurde - angebracht sind, bei entsprechender Ausgestaltung des Dachs geeignet sein könnten, die Einführungstiefe der Lumenspitze erfindungsgemäss zu begrenzen. Jedoch bedeute "funktionale Auslegung" im Sinne der Rechtsprechung des Bundespatentgerichts, dass dem Merkmal eine Bedeutung gegeben werden müsse, die es ihm ermögliche, seinen erfindungsgemässen Zweck zu erfüllen. Wortsinngemäss von der Öffnungsebene beabstandete seitliche Vorsprünge seien in Verbindung mit einem passenden Dach geeignet, die erfindungsgemässe Funktion der Beschränkung der Einführtiefe der Lumenspitze zu erfüllen. Funktionale Auslegung bedeute aber nicht, dass ein Anspruch so zu lesen sei, dass jede Umsetzung in einer Ausführungsform, die dieselbe Funktion wie ein im Anspruch genanntes Merkmal erfülle, anspruchsgemäss sei. Eine solche Auslegung würde dem Anspruchswortlaut seine beschränkende Wirkung nehmen. Die funktionale Auslegung könne im vorliegenden Fall daher nicht dazu führen, dass dem an und für sich klaren Begriff "spaced from" eine Bedeutung gegeben werde, die vom allgemeinen Begriffsverständnis nicht mehr gedeckt sei. 
Richtig sei, dass bei diesem Verständnis von "spaced from" die Ausführungsformen gemäss den Figuren 4 und 5 nicht vom Anspruchswortlaut erfasst würden, weil dort die seitlichen Vorsprünge unmittelbar an der Düsenöffnung und bündig mit dieser angebracht seien. Bei der ersten Ausführungsform ergebe sich aus den Figuren 3 und 6 des Streitpatents, dass die distalen Endflächen der seitlichen Vorsprünge die Öffnungsebene schneiden, d.h. in einem gewissen Winkelbereich entlang des Umfangs des Injektors sei ein Abstand zwischen Öffnungsebene und seitlichem Vorsprung vorhanden, in einem anderen Winkelbereich nicht. 
Der Anspruch fordere nicht, dass der seitliche Vorsprung "als Ganzes", oder "über den ganzen Umfang" proximal von der Öffnungsebene beabstandet sein müsse. Durch den Hinweis in der Patentschrift auf die Funktion der Beschränkung der Einführtiefe und das Verhindern eines vollständigen Einführens der Lumenspitze erkenne der Fachmann, dass bei der ersten Ausführungsform aufgrund der Geometrie des Dachs und der schrägen Anordnung der seitlichen Vorsprünge die Lumenspitze zwar vollständig umlaufend, aber nur teilweise in die Tiefe des Wundkanals eindringend in die Wunde eingeführt werden könne. Hier genüge es also, wenn der Abstand zur wie vorne definierten Öffnungsebene nur in einem Winkelbereich vorhanden sei. Wenn der Anspruchswortlaut dies zulasse, ziehe der Fachmann eine Auslegung vor, bei der mindestens ein beschriebenes Ausführungsbeispiel von den erteilten Ansprüchen erfasst werde. Da die weiteren Ausführungsformen eindeutig nicht von den erteilten Ansprüchen erfasst würden, werde er das Merkmal folglich so auslegen, dass ein (proximaler) Abstand des seitlichen Vorsprungs von der Öffnungsebene in einem gewissen Winkelbereich genüge; vorausgesetzt, die Geometrie des Dachs und der seitlichen Vorsprünge seien so gewählt, dass sich die Lumenspitze (bei einem üblichen Einführwinkel) in die Wunde einführen lasse und die Einführtiefe in den Wundkanal durch die Vorsprünge begrenzt sei. 
Damit erfasse der Anspruch Ausführungsformen, bei denen nur ein Teil des seitlichen Vorsprungs proximal von der Öffnungsebene beabstandet sei. Die erste Ausführungsform falle unter den so verstandenen Anspruch 1. Nicht erfasst würden Ausführungsformen, bei denen kein Teil des seitlichen Vorsprungs von der Öffnungsebene proximal beabstandet sei, und somit die Ausführungsformen gemäss den Figuren 4 und 5. Dies widerspreche nicht dem Grundsatz, dass Patentansprüche so auszulegen seien, dass sie die beschriebenen Ausführungsformen wortsinngemäss erfassen. Wenn andere Auslegungsmöglichkeiten, die zum Einbezug aller Ausführungsbeispiele führten, zwingend ausschieden, komme der Grundsatz, dass der ausgelegte Anspruch die beschriebenen Ausführungsformen erfassen sollte, nicht zur Anwendung. Der Grundsatz sei anwendbar, wo der Wortlaut des Anspruchs verschiedene mögliche Auslegungen zulasse. Dann sei der Wortlaut so auszulegen, dass die Ausführungsbeispiele erfasst werden. Sei der ausgelegte Wortlaut jedoch eindeutig, sei unter Umständen hinzunehmen, dass nicht alle - oder in Ausnahmefällen sogar keine - Ausführungsbeispiele wortsinngemäss erfasst werden. 
 
4.  
 
4.1. Die Vorinstanz prüfte in der Folge die Rechtsbeständigkeit des Streitpatents, so insbesondere, ob die nach der Anmeldung erfolgten Änderungen zulässig waren. Die Beschränkung der Änderung der Unterlagen, insbesondere der Ansprüche, nach Art. 123 Abs. 2 EPÜ 2000 solle ausschliessen, dass der Anmelder für Gegenstände Schutz beanspruchen könne, die in der ursprünglichen Anmeldung nicht offenbart worden seien. Als ursprünglich offenbart gelte, was der Fachmann der Gesamtheit der ursprünglichen Offenbarung unter Inanspruchnahme seines allgemeinen Fachwissens, objektiv und auf den Anmeldetag bezogen, unmittelbar und eindeutig habe entnehmen können (sogenannter "Goldstandard").  
Das unzulässige Hinausgehen über den Offenbarungsgehalt könne sowohl im Hinzufügen als auch im Weglassen von Informationen bestehen. Nach der ständigen Rechtsprechung der Beschwerdekammern des Europäischen Patentamts (EPA) sei es in der Regel nicht zulässig, bei der Änderung eines Anspruchs isolierte Merkmale aus einer Reihe von Merkmalen herauszugreifen, die ursprünglich nur in Kombination miteinander (z.B. in einer bestimmten Ausführungsform in der Beschreibung) offenbart waren. Eine solche Änderung führe zu einer unzulässigen "Zwischenverallgemeinerung" ("généralisation intermédiaire"), wenn sie auf eine nicht offenbarte Kombination von Merkmalen abziele. Letztgültiger Massstab für die Beurteilung, ob die Erfordernisse von Art. 123 Abs. 2 EPÜ 2000 erfüllt sind, sei auch im Fall einer Zwischenverallgemeinerung der "Goldstandard". Ein Merkmal, das aus einer bestimmten Ausführungsform herausgegriffen und in den Anspruch aufgenommen wurde, sei in der Regel im Zusammenhang mit den anderen Anspruchsmerkmalen nur dann ursprünglich offenbart, wenn das Merkmal nicht mit weiteren, nicht im Anspruch aufgeführten Merkmalen dieser Ausführungsform in funktionellem oder strukturellem Zusammenhang stehe oder untrennbar verknüpft sei und die Gesamtoffenbarung die verallgemeinernde Isolierung des Merkmals und seine Aufnahme in den Anspruch rechtfertige. 
 
4.2. Die Beschwerdegegnerin behaupte, dass die im Erteilungsverfahren vorgenommenen Änderungen in Bezug auf die Merkmale 1.3.3a) -c) sowie 1.4.1 zu einem Anspruchsgegenstand führten, der nicht ursprünglich offenbart sei, weshalb das Streitpatent wegen Verstosses gegen Art. 123 Abs. 2 EPÜ 2000 nichtig sei.  
Der unabhängige Anspruch 1 gemäss den ursprünglich eingereichten Anmeldeunterlagen umfasse wörtlich identisch die Merkmale 1.1, 1.2, 1.3, 1.3.1, 1.3.2 sowie 1.4. Das weitere, im ursprünglichen Anspruch enthaltene Merkmal "a canopy projecting distally from the opening" werde durch das Merkmal 1.3.3 mit den Teilmerkmalen a) -c) ersetzt: 
a) the nozzle opening is defined by an extended canopy; 
b) projecting distally from a plane of the opening; 
c) at least partially encircling the opening. 
Zusätzlich werde das Merkmal 1.4.1 eingefügt: 
 
- the at least one peripheral protrusion is spaced proximally from the plane of the opening so as to provide an insertion depth limitation and prevent full in sertion of the cartridge tip, in use. 
Die Vorinstanz wies darauf hin, dass sich die geänderten Merkmale nicht ohne Weiteres wörtlich aus den abhängigen Ansprüchen ergeben, weshalb zu prüfen sei, ob der Gegenstand des geänderten Anspruchs ursprünglich offenbart wurde. Zum Merkmal 1.4.1 führte sie aus, die beklagtische Auslegung des Merkmals "the at least one peripheral protrusion is spaced proximally from the plane of the opening" sei - wie ausgeführt - abzulehnen. "Spaced from" bedeute, dass ein Abstand zwischen zumindest einem Teil des seitlichen Vorsprungs und der Öffnungsebene vorhanden sein müsse. Der geforderte Abstand sei nur bei der ersten Ausführungsform gegeben; diese zeichne sich zudem dadurch aus, dass das Dach die Öffnung ganz umschliesse. Der seitliche Vorsprung weise eine besondere Geometrie mit einer geneigten Vorderwand auf, die die Öffnungsebene teilweise schneide. Weil in der ursprünglich eingereichten Beschreibung weder die Öffnungsebene noch der Abstand erwähnt seien und beides auch nicht explizit aus den Figuren hervorgehe, könne der Fachmann den ursprünglich eingereichten Unterlagen keine allgemeine Lehre entnehmen, wonach es auf einen Abstand des Vorsprungs von einer Öffnungsebene ankomme. Ein derartiger Abstand gehe einzig aus dem ersten Ausführungsbeispiel und auch dort nur aus der Figur 3 hervor. Wie die Beschwerdeführerin selbst feststelle, sei das Zusammenspiel der Ausdehnung des Dachs und der Position des Vorsprungs wesentlich für die Funktion des Injektors. Das treffe auch für die Geometrie des Dachs zu, einschliesslich seiner Ausdehnung entlang des Umfangs. Entsprechend könne der Fachmann ausgehend von der Offenbarung der ursprünglich eingereichten Unterlagen nicht davon ausgehen, dass eine beabstandete Anordnung des Vorsprungs von der Öffnungsebene unabhängig von der Geometrie des Dachs funktioniere. Er könne daher nicht davon ausgehen, dass sich dieses spezifische Merkmal aus der ersten Ausführungsform generell mit einer beliebigen Geometrie des erweiterten Dachs kombinieren lasse. Die teilweise Beabstandung der seitlichen Vorsprünge stehe folglich in strukturellem und funktionalem Zusammenhang mit der spezifischen Geometrie des Dachs gemäss Figur 3 und die Gesamtoffenbarung rechtfertige die verallgemeinernde Isolierung des Merkmals der Beabstandung nicht. 
 
4.3. Somit beruhe die Kombination der Merkmale 1.3.3b) und 1.4.1 einerseits und des Merkmals 1.3.3c) andererseits auf einer Kombination von Merkmalen unterschiedlicher Ausführungsformen, die in den ursprünglich eingereichten Unterlagen so nicht offenbart worden sei. Sie stelle deshalb eine unzulässige Änderung im Sinne von Art. 123 Abs. 2 EPÜ 2000 dar. Darüber hinaus beruhe schon das Merkmal 1.4.1 selbst auf einer unzulässigen Zwischenverallgemeinerung, die darauf gründe, dass ein isoliertes Merkmal eines Ausführungsbeispiels zur Einschränkung des Anspruchs herangezogen worden sei, ohne Aufnahme funktional damit verbundener weiterer Merkmale des Ausführungsbeispiels (betreffend die Geometrie des Dachs und auch des seitlichen Vorsprungs, d.h. der Neigung der Vorderkante).  
Die unzulässige Änderung folge aus der Auslegung der Begriffe "plane of the opening" und "spaced proximally from" und werde durch die weiter eingeschränkten Ansprüche gemäss den Eventualanträgen nicht behoben. Es sei entsprechend festzustellen, dass das Streitpatent insgesamt wegen unzulässiger Änderung nichtig sei. Die Klage sei demnach vollständig gutzuheissen. Eine Beurteilung der weiteren geltend gemachten Nichtigkeitsgründe erübrige sich. 
 
5.  
Die Beschwerdeführerin rügt, die Vorinstanz habe in verschiedener Hinsicht die Begründungspflicht (Art. 29 Abs. 2 BV) verletzt. 
 
5.1. Der Anspruch auf rechtliches Gehör (Art. 29 Abs. 2 BV und Art. 53 ZPO) verlangt, dass das Gericht die Vorbringen des vom Entscheid in seiner Rechtsstellung Betroffenen auch tatsächlich hört, prüft und in der Entscheidfindung berücksichtigt (BGE 136 I 184 E. 2.2.1; 134 I 83 E. 4.1 mit Hinweisen). Damit sich die Parteien ein Bild über die Erwägungen des Gerichts machen können, ist sein Entscheid zu begründen. Die Begründung muss kurz die Überlegungen nennen, von denen sich das Gericht hat leiten lassen und auf die sich sein Entscheid stützt. Nicht erforderlich ist hingegen, dass sich der Entscheid mit allen Parteistandpunkten einlässlich auseinandersetzt und jedes einzelne Vorbringen ausdrücklich widerlegt. Vielmehr kann sie sich auf die für den Entscheid wesentlichen Punkte beschränken. Es genügt, wenn der Entscheid gegebenenfalls sachgerecht angefochten werden kann (BGE 143 III 65 E. 5.2; 142 III 433 E. 4.3.2; 141 III 28 E. 3.2.4).  
 
5.2. Die Beschwerdeführerin bringt zunächst zu Unrecht vor, die Vorinstanz habe die Eventualanträge ungenügend geprüft, habe sich mit ihren Argumenten zur Rechtsbeständigkeit dieser Hilfsanträge nicht auseinandergesetzt und habe diese ohne angemessene Begründung pauschal abgewiesen. Zwar trifft zu, dass die Begründung im angefochtenen Entscheid zu den Eventualanträgen der Beschwerdeführerin knapp ausfällt. Die Beschwerdeführerin vermag jedoch nicht aufzuzeigen, inwiefern ihr die vorinstanzliche Begründung verunmöglicht hätte, den Entscheid sachgerecht anzufechten, zumal die Vorinstanz die Abweisung der Eventualanträge sinngemäss auf dieselben Gründe abstützte. Eine Gehörsverletzung zeigt sie auch mit dem allgemeinen Vorbringen nicht auf, die Vorinstanz habe sich mit ihren Argumenten nicht auseinandergesetzt.  
Entsprechendes gilt für den Vorwurf, die Vorinstanz habe unzureichend begründet, weshalb schon das Merkmal 1.4.1 selbst auf einer unzulässigen Zwischenverallgemeinerung beruhe. Der angefochtene Entscheid genügt den verfassungsrechtlichen Vorgaben von Art. 29 Abs. 2 BV. Im Weiteren ist auch nicht ersichtlich, dass der Vorinstanz das von der Beschwerdeführerin ins Feld geführte Argument entgangen wäre, es komme gemäss dem Streitpatent nicht auf die konkrete Anordnung der seitlichen Vorsprünge an. Die Rüge der Gehörsverletzung ist auch in dieser Hinsicht unbegründet. 
 
6.  
Die Beschwerdeführerin wirft der Vorinstanz vor, das Streitpatent fehlerhaft ausgelegt und Art. 51 Abs. 3 PatG bzw. Art. 69 EPÜ 2000 und Art. 9 BV verletzt zu haben. 
 
6.1. Der sachliche Geltungsbereich bzw. Schutzbereich des Patents bestimmt sich gemäss Art. 51 Abs. 2 PatG bzw. Art. 69 Abs. 1 Satz 1 EPÜ 2000 nach den Patentansprüchen. Die in den Patentansprüchen umschriebenen technischen Anleitungen sind so auszulegen, wie der Fachmann sie versteht. Ausgangspunkt jeder Auslegung bildet deren Wortlaut. Die Beschreibung und die Zeichnungen sind zur Auslegung der Patentansprüche heranzuziehen (Art. 51 Abs. 3 PatG bzw. Art. 69 Abs. 1 Satz 2 EPÜ 2000). Das allgemeine Fachwissen ist als sog. liquider Stand der Technik ebenfalls Auslegungsmittel (BGE 143 III 666 E. 4.3 mit Hinweisen; vgl. auch BGE 144 III 337 E. 2.2).  
Die Beschreibung und die Zeichnungen dienen nur zur Auslegung des Anspruchs, soweit der Wortlaut unklar ist, nicht aber zu dessen Ergänzung. Der Patentinhaber hat daher den Gegenstand der Erfindung im Patentanspruch genau zu umschreiben und trägt das Risiko für eine unrichtige, unvollständige oder widersprüchliche Definition (Urteile 4A_581/2020 vom 26. März 2021 E. 3; 4A_317/2020 vom 15. Dezember 2020 E. 3.1; 4A_520/2016 vom 7. April 2017 E. 3.2 mit Hinweis auf BGE 95 II 364 E. 4c; vgl. auch BGE 107 II 366 E. 2). 
 
6.2. Zunächst kann der Beschwerdegegnerin nicht gefolgt werden, wenn sie im Zusammenhang mit den Begriffen "extended canopy", "plane of the opening" sowie "spaced proximally from" einwendet, es handle sich bei der Auslegung dieser Begriffe nicht um eine Rechts-, sondern um eine Tatfrage, die vom Bundesgericht nur im Rahmen einer Willkürprüfung gemäss Art. 97 Abs. 1 BGG überprüft werden könne. Sie bringt unter Hinweis auf die Situation vor der Schaffung des Bundespatentgerichts (Beizug technisch ausgebildeter Gutachter) sowie die Entwicklung seit Bestehen eines auf Patentrecht spezialisierten Gerichts (Fachrichter anstelle von Gutachtern) vor, das Fachrichtervotum sei - wie einst die externen Gerichtsgutachten - im Rahmen des Beweisverfahrens zu verorten und Beweis sei nur über Tatsachen abzunehmen. Aus dem blossen Umstand, dass die strittigen Begriffe des Patentanspruchs im zu beurteilenden Fall auch im Rahmen des Fachrichtervotums zur Sprache kamen, zu schliessen, es müsse sich dabei um Tatfragen handeln, wäre jedoch verkürzt. Der verfahrensrechtliche Rahmen, in dem bestimmte Fragen erörtert werden, lässt keine eindeutigen Rückschlüsse auf die Rechtsnatur dieser Fragen zu. Die Beschwerdegegnerin räumt ausserdem selber ein, dass sich der Fachrichter in seinem Fachrichtervotum nicht ausschliesslich zu Tatfragen geäussert hat, sondern durchaus auch zu Rechtsfragen.  
Patentansprüche sind nicht - wie etwa vertragsbezogene Willenserklärungen - subjektiv an einen bestimmten Adressaten gerichtet, sondern objektiv darauf ausgelegt, ein absolutes Recht mit Defensivwirkung gegenüber allen Unbefugten zu begründen. Die absolute Normwirkung setzt dabei ein einheitliches Verständnis des vorbehaltenen Machtbereichs voraus; darüber hinaus verlangt das der Rechtssicherheit verpflichtete Bestimmtheitsgebot einen für die Ausgeschlossenen erkennbaren, anhand fassbarer Kriterien feststellbaren Herrschaftsraum (dazu grundlegend HANS PETER WALTER, Zwischen Skylla und Charybdis - zur Auslegung der Patentansprüche nach Art. 69 EPÜ, in: GRUR 3/1993 S. 349 f.). Die Patentansprüche sind daher nicht empirisch, sondern normativ auszulegen (BGE 122 III 81 E. 4a mit Hinweisen). Normative Auslegung ist Teil der Rechtsfindung (WALTER, a.a.O., S. 351). 
Der Umstand, dass die in den Patentansprüchen umschriebenen technischen Anleitungen aus Sicht des Fachmanns auszulegen sind, ändert nichts am Grundsatz der normativen Auslegung (vgl. bereits BGE 122 III 81 E. 4a), die vom Bundesgericht als Rechtsfrage im Beschwerdeverfahren frei überprüft werden kann. Zwar mag zutreffen, dass die Auslegung eines Patentanspruchs im Einzelfall auf tatsächlichen Feststellungen beruht, wie etwa dem Verständnis eines Fachausdrucks in einer bestimmten Branche oder spezifischen technischen Verhältnissen, an die das Bundesgericht nach Art. 105 Abs. 1 BGG gebunden ist. Inwiefern dies bei den Begriffen "extended canopy", "plane of the opening" und "spaced proximally from" der Fall sein soll, vermag die Beschwerdegegnerin nicht aufzuzeigen. Entgegen ihrer Ansicht handelt es sich bei der Auslegung dieser Begriffe nicht um Tatfragen, weshalb der Einwand nicht verfängt, das Bundesgericht könne die erfolgte Auslegung generell einzig auf Willkür (Art. 9 BV) hin überprüfen. 
 
6.3. Die Beschwerdeführerin bringt zu Unrecht vor, die Vorinstanz habe die Figuren 2 und 3 falsch und willkürlich ausgelegt, was zu einer unzutreffenden Auslegung des Streitpatents geführt habe. Die Vorinstanz hat zutreffend ausgeführt, dass die Figuren 2 und 3 eine erste Ausführungsform der Erfindung zeigen, was auch in der Beschwerde nicht in Frage gestellt wird. Sie hat anhand eines Vergleichs der beiden Ansichten in Figur 2 (Schrägbild) und Figur 3 (Seitenansicht) nachvollziehbar geschlossen, der Fachmann gehe davon aus, dass eine Seitenansicht wie in Figur 3 zur genauen Darstellung der Geometrie eines Gegenstands besser geeignet sei, weshalb er annehme, Geometrie und Anordnung des seitlichen Vorsprungs sei der Figur 3 entnehmbar. Darin ist entgegen der in der Beschwerde vertretenen Ansicht keine Verletzung von Art. 51 Abs. 3 PatG bzw. Art. 69 EPÜ 2000 oder Art. 9 BV zu erblicken. Daran ändert auch der Hinweis in der Beschwerde auf Abschnitt [0018] der Beschreibung nichts, wonach die Erfindung nicht auf eine bestimmte Geometrie oder Winkellage der distalen Fläche der peripheren Vorsprünge beschränkt sei. Die Vorinstanz hat dies nicht verkannt, indem sie eine in der erwähnten Zeichnung dargestellte konkrete Ausführungsform der Erfindung aus einer bestimmten Ansicht korrekt beschrieb. Die Rüge ist unbegründet.  
 
6.4. Die Beschwerdeführerin rügt, die Vorinstanz habe den Begriff "extended canopy" fehlerhaft ausgelegt.  
Sie zeigt keine Verletzung von Art. 51 Abs. 3 PatG bzw. Art. 69 EPÜ 2000 auf, indem sie vorbringt, die funktionale Auslegung von Merkmal 1.3.3 erfordere, dass das erweiterte Dach so ausgestaltet sei, dass es die Funktionen der Öffnung und Stützung der Wunde wahrnehmen könne, wobei offensichtlich nicht jedes Dach diese Funktionen zu erfüllen vermöge. Entgegen ihrer Ansicht hat die Vorinstanz nicht verkannt, dass die anspruchsgemässe Ausgestaltung eine Erweiterung des Dachs erfordert. Sie hat im Rahmen der funktionalen Auslegung vielmehr zutreffend erwogen, dass das Dach geeignet sein muss, in die Wunde eingeführt zu werden und diese in einem gewissen Umfang zu stützen. Die Beschwerdeführerin behauptet zwar, das Dach müsse dem Wundkanalende ausreichend nahekommen, um diesen für die Einführung der IOL öffnen zu können; ihr Vorbringen findet jedoch in den in der Beschwerde zitierten Absätzen [0010], [0017] und [0019] der Beschreibung keine Stütze. Wie die Beschwerdegegnerin zutreffend einwendet, wird darin lediglich die Funktion des Dachs erläutert, es wird jedoch weder darauf hingewiesen, dass das Dach dem Wundkanalende ausreichend nahekommen müsse, noch wird konkretisiert, welche Länge das Dach aufweisen muss. Dass das Dach mit seiner Form geeignet sein muss, die in der Beschreibung konkretisierte Funktion zu erfüllen, hat die Vorinstanz zutreffend erkannt. Indem die Beschwerdeführerin vorbringt, es brauche entgegen den vorinstanzlichen Erwägungen ein "ausreichend erweitertes" Dach, um die vorgesehenen Funktionen zu erfüllen, vermag sie ebenfalls keine konkret fassbare einschränkende Wirkung des Begriffs "extended" aufzuzeigen. 
Entgegen der Ansicht der Beschwerdeführerin trifft nicht zu, dass die vorinstanzliche Auslegung des Merkmals "extended canopy" dem Wortlaut des Patentanspruchs, der Beschreibung und den Zeichnungen widersprechen würde. Eine Art. 51 PatG bzw. Art. 69 EPÜ 2000, geschweige denn Art. 9 BV verletzende Auslegung dieses Merkmals liegt nicht vor. 
 
6.5. Die Beschwerdeführerin wirft der Vorinstanz eine fehlerhafte und willkürliche Auslegung des Begriffs "plane of the opening" vor.  
Entgegen ihrer Ansicht kann aus der Tatsache, dass das Merkmal "plane of the opening" (Öffnungsebene) weder in den Zeichnungen konkret markiert noch in der Beschreibung erwähnt wird, nicht geschlossen werden, dass es sich dabei um eine beliebige virtuelle und nicht um eine konkrete Ebene handle. Die Argumentation, wonach die Öffnungsebene lediglich "die Bezugsgrösse für die Anordnung des erweiterten Dachs in Relation zu den peripheren Vorsprüngen" sei, erscheint widersprüchlich. Die beiden Merkmale des Dachs und der peripheren Vorsprünge sind im Patentanspruch gerade in Bezug auf die Öffnungsebene definiert, indem die Öffnungsebene für die beiden Merkmale eine Bezugsebene darstellt. Könnte die Öffnungsebene beliebig positioniert werden, wäre mangels einer fixen Bezugsebene das Verhältnis der beiden Merkmale zur Öffnungsebene und damit auch das Zusammenspiel des Dachs mit den peripheren Vorsprüngen nicht mehr definiert, auf das es nach der Beschwerdeführerin ankommen soll. Insoweit ist auch die vorinstanzliche Erwägung nicht zu beanstanden, nach der bei einer quasi-beliebigen virtuellen Ebene das Erfordernis eines Abstands zwischen der Öffnungsebene und den seitlichen Vorsprüngen bedeutungslos wäre. Gegenteiliges lässt sich auch aus der unter Berufung auf den Wortlaut des Patentanspruchs ins Feld geführten Verwendung zunächst des unbestimmten (" a plane of the opening") und daraufhin des bestimmten Artikels (" the plane of the opening") nicht ableiten. Abgesehen davon, dass das Dach und der Vorsprung unabhängig von der textlichen Abfolge eindeutig in Bezug zu derselben Öffnungsebene definiert sind, ist die Reihenfolge im Anspruchswortlaut - im Gegensatz zu der in der Beschwerde thematisierten Merkmalstabelle - genau umgekehrt. Dies hat auch die Vorinstanz erkannt und hat diesem Umstand zu Recht keine weitere Bedeutung beigemessen.  
Die Vorinstanz hat demnach zu Recht geprüft, wie das in der Beschreibung nicht weiter definierte Merkmal aus fachmännischer Sicht zu verstehen ist. Sie hat dabei aus den Figuren 4 und 5 geschlossen, dass die Öffnungsebene bei diesen Ausführungsbeispielen dort zu verorten sei, wo das diese nur teilweise umgebende Dach beginnt. Diese Auslegung ist ebenso wenig zu beanstanden wie die vorinstanzliche Erwägung, der Fachmann werde den - nicht in der Beschreibung erwähnten - Begriff "plane of the opening" als Ebene auffassen, in der die Öffnung lokalisiert ist, bei den Ausführungsbeispielen gemäss den Figuren 4 und 5 also jeweils eine Ebene senkrecht zur Längsachse der Kartusche. Mangels ausdrücklicher Definition des strittigen Merkmals in der Beschreibung ging die Vorinstanz nachvollziehbar davon aus, dass die Öffnungsebene beim Ausführungsbeispiel nach den Figuren 2 und 3 entsprechend definiert sei, d.h. senkrecht zur Längsachse der Kartusche. Inwiefern die Vorinstanz damit anerkannte Auslegungsgrundsätze, geschweige denn das Willkürverbot (Art. 9 BV) verletzt hätte, ist nicht erkennbar. 
 
6.6. Die Beschwerdeführerin rügt zudem unter Berufung auf Art. 51 PatG, Art. 69 EPÜ 2000 und Art. 9 BV eine fehlerhafte Auslegung des Begriffs "peripheral protrusion is spaced proximally from the plane of the opening".  
Sie kritisiert die vorinstanzliche Auslegung, nach der gemäss dem Wortlaut des Merkmals 1.4.1 der seitliche Vorsprung in proximaler Richtung von der Öffnungsebene beabstandet ("spaced from") sein muss, mithin einen Abstand voraussetzt. Sie will es stattdessen genügen lassen, dass der Vorsprung proximal zur Öffnungsebene "Raum einnimmt", mit anderen Worten proximal von dieser Ebene "angeordnet" ist. Dass der strittige Begriff "spaced from" nach dem allgemeinen Sprachverständnis notwendigerweise einen Abstand zwischen den Elementen voraussetzt, stellt die Beschwerdeführerin nicht in Abrede; sie stellt sich vielmehr auf den Standpunkt, der Begriff werde im Streitpatent offensichtlich auf andere Weise verwendet. 
Der Begriff "spaced" wird in der Patentschrift einzig im Merkmal 1.4.1 des Patentanspruchs verwendet. Nachdem "spaced" in der Beschreibung nicht erwähnt, geschweige denn definiert wird, hat die Vorinstanz den Begriff zutreffend ausgehend vom üblichen Sprachverständnis im Lichte des allgemeinen Fachwissens und unter Berücksichtigung der Zeichnungen ausgelegt. Die Beschwerdeführerin argumentiert unter Hinweis auf die Funktion des peripheren Vorsprungs gemäss Merkmal 1.4.1, nämlich "eine Begrenzung der Einführtiefe bereit zu stellen und im Gebrauch die komplette Einführung der Patronenspitze zu verhindern" ("so as to provide an insertion depth limitation and prevent full insertion of the cartridge tip, in use"), diese Begrenzungs- und Stoppfunktion sei das einzige wesentliche Kriterium, das der Vorsprung erfüllen müsse, während ein Abstand zwischen der Öffnungsebene und den Vorsprüngen für das Erreichen der erfindungsgemässen Funktion nicht zwingend erforderlich sei. Ihr kann jedoch nicht gefolgt werden, wenn sie aus dem Umstand, dass diese Wirkung auch ohne Abstand erzielt werden kann, schliessen will, ein Abstand dürfe aufgrund einer funktionalen Auslegung des Anspruchsmerkmals nicht gefordert werden. Wie die Beschwerdegegnerin zu Recht einwendet, schützt der Patentanspruch eine Vorrichtung, nicht eine Funktion; der Grundsatz der funktionalen Anspruchsauslegung besagt nicht, dass der Schutzbereich ohne Weiteres auf sämtliche Gegenstände ausgedehnt werden darf, welche die gleiche technische Funktion erfüllen wie der beanspruchte Gegenstand. Die Vorinstanz hat in diesem Zusammenhang zutreffend festgehalten, funktionale Auslegung bedeute nicht, dass ein Anspruch so zu lesen ist, dass jede Umsetzung in einer Ausführungsform, die dieselbe Funktion wie ein im Anspruch genanntes Merkmal erfüllt, anspruchsgemäss ist. Sie hat dem strittigen Merkmal zudem eine Bedeutung gegeben, die es ihm ermöglicht, seinen erfindungsgemässen Zweck zu erfüllen, ist doch unbestritten, dass von der Öffnungsebene beabstandete seitliche Vorsprünge in Verbindung mit einem passenden Dach geeignet sind, die erfindungsgemässe Funktion der Beschränkung der Einführtiefe der Lumenspitze zu erfüllen. 
Der Vorinstanz ist keine Verletzung von Art. 51 PatG, Art. 69 EPÜ 2000 oder Art. 9 BV vorzuwerfen, wenn sie den Begriff "spaced proximally" im Merkmal 1.4.1 so auslegte, dass der seitliche Vorsprung in proximaler Richtung von der Öffnungsebene beabstandet sein muss. Der Umstand, dass bei diesem Verständnis - wie im angefochtenen Entscheid zutreffend festgehalten - die Ausführungsformen gemäss den Figuren 4 und 5 nicht vom Anspruchswortlaut erfasst werden, ist Folge dieses zutreffenden Auslegungsergebnisses. Dies kann jedoch nicht dazu führen, das Element "beabstandet" bzw. "spaced" in Anspruch 1 einfach wegzulassen oder durch "angeordnet" bzw. "arranged" zu ersetzen, wie dies in der Beschwerde vertreten wird. Wie die Vorinstanz zutreffend erwogen hat, setzt der Grundsatz, nach dem Patentansprüche so auszulegen sind, dass sie die beschriebenen Ausführungsbeispiele wortsinngemäss erfassen, seinerseits voraus, dass der Wortlaut eine solche Auslegungsmöglichkeit zulässt. Dies hat die Vorinstanz - entgegen der in der Beschwerdeantwort vertretenen Ansicht - zutreffend erkannt, indem sie hinsichtlich der ersten Ausführungsform gemäss den Figuren 3 und 6 erwog, der Anspruch fordere nicht, dass der seitliche Vorsprung als Ganzes bzw. über den ganzen Umfang proximal von der Öffnungsebene beabstandet sein müsse, und entsprechend davon ausging, dieses Ausführungsbeispiel werde von den erteilten Ansprüchen erfasst. Das von der Beschwerdeführerin vertretene Verständnis geht demgegenüber über eine zulässige Anspruchsauslegung hinaus. 
 
7.  
Die Beschwerdeführerin rügt, die Vorinstanz habe Art. 26 Abs. 1 lit. c PatG und Art. 123 Abs. 2 EPÜ 2000 verletzt, indem sie erwog, das Streitpatent sei im Vergleich zur Erstanmeldung unzulässig erweitert worden, was zur Nichtigkeit des Streitpatents führe. 
 
7.1.  
 
7.1.1. Nach Art. 26 Abs. 1 lit. c PatG stellt das Gericht auf Klage hin die Nichtigkeit des Patents fest, wenn der Gegenstand des Patents über den Inhalt des Patentgesuchs in der für das Anmeldedatum massgebenden Fassung hinausgeht. Damit wurde der Nichtigkeitsgrund gemäss Art. 138 Abs. 1 lit. c EPÜ 2000 in das nationale Recht überführt (BGE 146 III 177 E. 2.1.1).  
Diese beiden Bestimmungen knüpfen ihrerseits - soweit es um das europäische Erteilungsverfahren geht - an Art. 123 Abs. 2 EPÜ 2000 an, worin die Zulässigkeit von Änderungen im Anmeldeverfahren eingeschränkt wird. Demgemäss dürfen die europäische Patentanmeldung und das europäische Patent nicht in der Weise geändert werden, dass ihr Gegenstand über den Inhalt der Anmeldung in der ursprünglich eingereichten Fassung hinausgeht (vgl. auch Art. 58 Abs. 2 PatG). Mit dieser Regelung soll ausgeschlossen werden, dass der Patentinhaber seine Position verbessert, indem er für Gegenstände Schutz beansprucht, die in der ursprünglichen Anmeldung nicht offenbart worden sind. Dem Anmelder soll es verwehrt sein, nachträgliche Änderungen oder Weiterentwicklungen in das Anmeldeverfahren einzubringen und damit ein Schutzrecht zu erlangen, das am Stand der Technik zur Zeit der Anmeldung gemessen wird. Auch wird darauf hingewiesen, dass dieses Änderungsverbot im Dienst der Rechtssicherheit stehe: Die Öffentlichkeit soll nicht durch Patentansprüche überrascht werden, welche aufgrund der ursprünglich eingereichten Fassung nicht zu erwarten waren (BGE 146 III 177 E. 2.1.1 und 2.1.2). 
Dabei ist unter dem "Gegenstand des Patents" nicht der "Schutzbereich" nach Art. 69 EPÜ 2000 zu verstehen, wie er durch die Patentansprüche bestimmt wird. Vielmehr geht es um den "Gegenstand" im Sinne von Art. 123 Abs. 2 EPÜ 2000, also einschliesslich der gesamten Offenbarung in der Beschreibung und in den Zeichnungen. Gemäss der Rechtsprechung der Beschwerdekammern des Europäischen Patentamts (EPA) erlaubt diese Bestimmung eine Änderung nach der Anmeldung nur im Rahmen dessen, was der Fachmann der Gesamtheit der Anmeldeunterlagen in ihrer ursprünglich eingereichten Fassung unter Heranziehung des allgemeinen Fachwissens - objektiv und bezogen auf den Anmeldetag - unmittelbar und eindeutig entnehmen kann. Dieser Prüfmassstab wird als "Goldstandard" bezeichnet (BGE 146 III 177 E. 2.1.3 mit Hinweisen). 
 
7.1.2. Das unzulässige Hinausgehen über den Offenbarungsgehalt kann sowohl im Hinzufügen als auch im Weglassen von Informationen bestehen (BGE 146 III 177 E. 2.1.3). Nach der ständigen Rechtsprechung der Beschwerdekammern des EPA ist es in der Regel nicht zulässig, bei der Änderung eines Anspruchs ein isoliertes Merkmal aus einer Reihe von Merkmalen herauszugreifen, die ursprünglich nur in Kombination miteinander (z.B. in einer bestimmten Ausführungsform in der Beschreibung) offenbart wurden. Eine derartige Änderung stellt eine sog. Zwischenverallgemeinerung dar, indem sie zwar den beanspruchten Gegenstand an sich weiter einschränkt, aber dennoch auf eine nicht offenbarte Kombination von Merkmalen gerichtet ist, die breiter ist als der ursprünglich offenbarte Kontext (Entscheidung der Technischen Beschwerdekammer T 219/09 vom 27. September 2010 E. 3.1; vgl. dazu HEIKO SENDROWSKI, in: Ehlers/Kinkeldey [Hrsg.], Benkard, Europäisches Patentübereinkommen, 3. Aufl. 2019, N. 150 f. zu Art. 123 EPÜ; FRITZ BLUMER, in: Singer/Stauder/Luginbühl, Europäisches Patentübereinkommen, 8. Aufl. 2019, N. 93 zu Art. 123 EPÜ).  
Eine solche Zwischenverallgemeinerung ist nach dieser Rechtsprechung nur zu rechtfertigen, wenn keinerlei eindeutig erkennbare funktionale oder strukturelle Verbindung zwischen den Merkmalen der spezifischen Kombination besteht bzw. das herausgegriffene Merkmal nicht untrennbar mit diesen Merkmalen verknüpft ist (dazu Entscheidungen der Technischen Beschwerdekammern T 2489/13 vom 18. April 2018 E. 2.3; T 1944/10 vom 14. März 2014 E. 3.2; T 219/09 vom 27. September 2010 E. 3.1). Sie ist mithin nur zulässig, wenn der Fachmann aus der Anmeldung in der ursprünglich eingereichten Fassung zweifelsfrei erkennen kann, dass das herausgegriffene Merkmal keinen engen Zusammenhang mit den übrigen Merkmalen des Ausführungsbeispiels aufweist, sondern sich unmittelbar und eindeutig auf den allgemeineren Kontext bezieht (Entscheidungen T 2489/13 vom 18. April 2018 E. 2.3; T 2185/10 vom 21. Oktober 2014 E. 4.3; T 962/98 vom 15. Januar 2004 E. 2.5). 
 
7.2. Die Beschwerdeführerin stellt nicht grundsätzlich in Abrede, dass das mit der Änderung des Patentanspruchs aufgenommene Merkmal 1.4.1 ("spaced proximally from the plane of the opening") auf einer Zwischenverallgemeinerung beruht, indem ein isoliertes Merkmal des Ausführungsbeispiels in Figur 3 herausgegriffen wurde. Weil in der ursprünglich eingereichten Beschreibung weder die Öffnungsebene ("plane of the opening") noch der Abstand ("spaced") erwähnt sind und beides auch nicht ausdrücklich aus den Figuren hervorgeht, hat die Vorinstanz nachvollziehbar geschlossen, dass der Fachmann den ursprünglich eingereichten Unterlagen keine allgemeine Lehre entnehmen kann, wonach es auf einen Abstand des Vorsprungs von einer Öffnungsebene ankommt. Da ein derartiger Abstand einzig aus dem ersten Ausführungsbeispiel, und auch dort nur aus der Figur 3 hervorgeht, blieben die Zusammenhänge zu anderen Merkmalen dieser Ausführungsform für den Fachmann unklar. Die Beschwerdeführerin geht selber davon aus, dass das Zusammenspiel der Ausdehnung des Dachs und der Position des Vorsprungs für die Funktion des Injektors wesentlich ist. Sie stellt zwar die vorinstanzliche Annahme in Frage, wonach dies auch für die Geometrie des Dachs zutreffe, einschliesslich seiner Ausdehnung entlang des Umfangs, vermag mit ihren Ausführungen jedoch nicht aufzuzeigen, dass der Fachmann ausgehend von den ursprünglichen Anmeldeunterlagen zweifelsfrei hätte erkennen können, dass das herausgegriffene Merkmal nicht in engem Zusammenhang mit den übrigen Merkmalen des Ausführungsbeispiels steht. Dies wäre jedoch erforderlich gewesen, um die Änderung zu rechtfertigen. Entgegen dem, was die Beschwerdeführerin anzunehmen scheint, setzte die vorinstanzliche Annahme der Unzulässigkeit der Änderung nicht etwa die Feststellung einer funktionalen oder strukturellen Verbindung mit den übrigen Merkmalen des Ausführungsbeispiels voraus. Im Gegenteil hätte die Zulässigkeit der erfolgten Änderung nur bejaht werden können, wenn das Fehlen eines solchen Zusammenhangs anhand der ursprünglichen Anmeldeunterlagen aus fachmännischer Sicht zweifelsfrei zu erkennen gewesen wäre.  
Mit der Behauptung, das Streitpatent lehre den Fachmann in Bezug auf die Figuren 2 und 3 nicht, dass die vollständige Umschliessung der Öffnung durch das Dach nur in Kombination mit einer beabstandeten Anordnung des Vorsprungs von der Öffnungsebene funktionieren könne, vermag sie die Zweifel hinsichtlich der Zusammenhänge zwischen den verschiedenen Merkmalen ebenso wenig auszuräumen wie mit dem Hinweis darauf, dass die Vorinstanz den ursprünglich eingereichten Unterlagen keine allgemeine Lehre zur Bedeutung eines Abstands entnehmen konnte. Es ist daher nicht davon auszugehen, der Fachmann hätte zweifelsfrei erkennen können, dass sich der in Figur 3 ersichtliche Abstand generell mit einer beliebigen Geometrie des erweiterten Dachs kombinieren lasse. Entsprechend stösst der in der Beschwerde erhobene Einwand gegen die vorinstanzliche Erwägung ins Leere, nach der bereits das Merkmal 1.4.1 selbst auf einer unzulässigen Zwischenverallgemeinerung beruhe. 
Der Vorwurf der Willkür (Art. 9 BV) ist ebenso unbegründet wie die Rüge, die Vorinstanz habe Art. 26 Abs. 1 lit. c PatG bzw. Art. 123 Abs. 2 EPÜ 2000 falsch angewendet, indem sie von einer unzulässigen Zwischenverallgemeinerung im Anspruchsmerkmal 1.4.1 ausging und die im Erteilungsverfahren vorgenommene Änderung als unzulässig betrachtete. 
 
7.3. Inwiefern der Nichtigkeitsgrund mit den Hilfsanträgen 1 und 2 beseitigt werden soll, legt die Beschwerdeführerin nicht dar. Auch in Bezug auf ihren Hilfsantrag 3 erhebt sie keine eigenständigen Rügen hinsichtlich der Unzulässigkeit der Änderung im Merkmal 1.4.1, sondern räumt grundsätzlich ein, dass dieser Nichtigkeitsgrund auch diesen Hilfsantrag betreffen würde und verweist im Übrigen auf ihre Ausführungen zum Hauptantrag. Diese haben sich als unbegründet erwiesen. Der angefochtene Entscheid ist demnach auch nicht zu beanstanden, soweit er davon ausgeht, die unzulässige Änderung werde durch die weiter eingeschränkten Ansprüche gemäss den Eventualanträgen nicht behoben.  
 
8.  
Die Beschwerde ist abzuweisen, soweit darauf eingetreten werden kann. Dem Ausgang des Verfahrens entsprechend wird die Beschwerdeführerin kosten- und entschädigungspflichtig (Art. 66 Abs. 1 und Art. 68 Abs. 2 BGG). 
Die Beschwerdegegnerin hat dem Bundesgericht eine Honorarnote eingereicht, mit der sie geltend macht, neben dem Aufwand für ihre Rechtsvertretung im bundesgerichtlichen Verfahren von Fr. 72'098.-- sei auch Aufwand durch eine Schweizer Patentanwaltskanzlei im Umfang von Fr. 31'425.20 sowie eine deutsche Kanzlei im Betrag von EUR 10'663.30 entstanden. 
Nach Art. 68 Abs. 2 BGG wird die unterliegende Partei in der Regel verpflichtet, der obsiegenden Partei nach Massgabe des Tarifs des Bundesgerichts alle durch den Rechtsstreit verursachten notwendigen Kosten zu ersetzen. Art. 1 des Reglements vom 31. März 2006 über die Parteientschädigung und die Entschädigung für die amtliche Vertretung im Verfahren vor dem Bundesgericht (SR 173.110.210.3) sieht vor, dass die nach Art. 68 BGG der obsiegenden Partei zustehende Parteientschädigung die Anwaltskosten (lit. a) sowie die allfälligen weiteren notwendigen Kosten umfasst, die durch den Rechtsstreit verursacht werden (lit. b). Gemäss Art. 3 Abs. 1 des Reglements richtet sich das Honorar bei Streitsachen mit Vermögensinteresse in der Regel nach dem Streitwert; es wird innerhalb der vorgesehenen Rahmenbeträge (Art. 4 und 5) nach der Wichtigkeit der Streitsache, ihrer Schwierigkeit sowie dem Umfang der Arbeitsleistung und dem Zeitaufwand des Anwalts bemessen. Nach Art. 12 Abs. 1 legt das Bundesgericht die Entschädigung auf Grund der Akten als Gesamtbetrag fest, in dem auch die Mehrwertsteuer enthalten ist. 
Die Vorinstanz hat den Streitwert unter Berücksichtigung der Angaben der Parteien auf Fr. 1 Mio. festgesetzt. Art. 4 des Reglements sieht für Beschwerdeverfahren mit einem Streitwert von Fr. 500'000.-- bis Fr. 1 Mio. ein Honorar zwischen Fr. 7'000.-- und Fr. 22'000.-- vor, für solche mit einem Streitwert von Fr. 1 Mio. bis Fr. 2 Mio. ein Honorar zwischen Fr. 8'000.-- und Fr. 30'000.--. Innerhalb dieser Rahmenbeträge, die auch unter dem Aspekt der Rechtsgleichheit zu beachten sind, erscheint unter Berücksichtigung der Wichtigkeit der Streitsache, ihrer Schwierigkeit sowie des Arbeitsaufwands eine Gesamtentschädigung von Fr. 17'000.-- als angemessen. Hinsichtlich des geltend gemachten Zeitaufwands ist insbesondere anzumerken, dass die in der Beschwerdeantwort vorgebrachten Nichtigkeitsgründe der fehlenden Neuheit und erfinderischen Tätigkeit im vorinstanzlichen Verfahren nicht geprüft wurden. Mangels tatsächlicher Feststellungen im angefochtenen Entscheid hätte das Bundesgericht über diese Fragen ohnehin nicht entscheiden können. Eine Entschädigung für den damit verbundenen Aufwand - samt beigezogenen Patentanwälten - fällt demnach ausser Betracht. Angesichts der beschränkten Überprüfungsbefugnis des Bundesgerichts (vgl. Art. 95 ff. und Art. 105 BGG) ist der Aufwand für einen allfälligen Beizug eines Patentanwalts im bundesgerichtlichen Beschwerdeverfahren als durch den reglementarischen Tarif abgegolten zu betrachten. Dabei ist zu berücksichtigen, dass Patentanwälte - im Gegensatz zum Verfahren vor Bundespatentgericht (Art. 29 PatGG [SR 173.41]) - im bundesgerichtlichen Beschwerdeverfahren nicht zur Parteivertretung zugelassen sind (Art. 40 Abs. 1 BGG). 
 
 
Demnach erkennt das Bundesgericht:  
 
1.  
Die Beschwerde wird abgewiesen, soweit darauf einzutreten ist. 
 
2.  
Die Gerichtskosten von Fr. 15'000.-- werden der Beschwerdeführerin auferlegt. 
 
3.  
Die Beschwerdeführerin hat die Beschwerdegegnerin für das bundesgerichtliche Verfahren mit Fr. 17'000.-- zu entschädigen. 
 
4.  
Dieses Urteil wird den Parteien und dem Bundespatentgericht schriftlich mitgeteilt. 
 
 
Lausanne, 25. Mai 2021 
 
Im Namen der I. zivilrechtlichen Abteilung 
des Schweizerischen Bundesgerichts 
 
Das präsidierende Mitglied: Kiss 
 
Der Gerichtsschreiber: Leemann